Polaris
Browse New Models
Shop In-Stock
Can-Am
Browse New Models
Shop In-Stock
Ski-Doo
Browse New Models
Shop In-Stock
Sea-Doo
Browse New Models
Shop In-Stock
Kayo
Browse New Models
Shop In-Stock
Manitou
Browse New Models
Shop In-Stock
Our
Location
Call
Us
Contact
Us
Toggle navigation
Home
Brands
Showroom
Manufacturer Models
OEM Promotions
Polaris Off-Road
Polaris Snowmobiles
Can-Am
Sea-Doo
Ski-Doo
Kayo
Yamaha Marine
Triton Trailers
Manitou
Nitro Trailers
CAM Superline
Durabull Trailers
Trifecta Pontoons
Inventory
All Inventory In Stock
New Inventory In Stock
Pre-Owned Inventory
Value Your Trade-In
Request a Model
Financing
Parts
Parts Department
OEM Parts Finder
Service
Service Department
Request Polaris Service
Warranty & Recall Look-Up
Financing
About
Our Dealership
Our Team
Reviews
Customer Survey
Newsletter Sign-Up
Employment
Events
Location & Hours
Contact
Call Us
Fort Kent, ME
Fiche | Parts Diagrams
2024 Can-Am Utility Vehicles
Home
›
Parts
›
OEM Parts Finder
Search by :
Part / Desc
VIN
Please Select
Can-Am
LYNX
Polaris
Sea-Doo
Ski-Doo
Yamaha
*Please enter at least 3 characters
SEARCH
Manufacturer
Can-Am
Utility Vehicles
2024
North America - Maverick Sport 1000R - XRC - 7BRB - Hybrid White Pearl - 64" Width
View Cart
VIEW WISH LIST
Select a Section
Show/Hide
01- ROTAX - Air Intake Manifold And Throttle Body
01- ROTAX - Crankcase
01- ROTAX - Crankshaft and Pistons
01- ROTAX - CVT
01- ROTAX - Drive Shaft
01- ROTAX - Engine Cooling
01- ROTAX - Engine Harness And Electronic Module
01- ROTAX - Engine Lubrication
01- ROTAX - Front Cylinder Head
01- ROTAX - Gear Box 1 - 686 812 - Hua Yong - 1st Generation
01- ROTAX - Gear Box 1 - 686 863 - Tremec - 2nd Generation
01- ROTAX - Gear Box 2 - 686 812 - Hua Yong - 1st Generation
01- ROTAX - Gear Box 2 - 686 863 - Tremec - 2nd Generation
01- ROTAX - Gearbox Assy and Drive Shaft - 686 812 - Hua Yong - 1st Generation
01- ROTAX - Gearbox Assy and Drive Shaft - 686 863 - Tremec - 2nd Generation
01- ROTAX - Magneto and Electric Starter
01- ROTAX - Rear Cylinder Head
02- Engine - Air Intake
02- Engine - Cooling
02- Engine - Exhaust
02- Engine - Fuel
02- Engine - System
03- Mechanic - Brake System
03- Mechanic - Steering
04- Drive - Front - Common Parts
04- Drive - Front - Differential Parts
04- Drive - Front Wheels
04- Drive - Rear - Common Parts
04- Drive - Rear Wheels
05- Suspension - Front Components
05- Suspension - Front Shocks
05- Suspension - Rear Components
05- Suspension - Rear Shocks
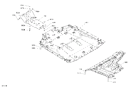
06- Frame - System
07- Body - Decals
07- Body - Front Section
07- Body - Rear Section
07- Body - Seat
07- Body - Skid Plate
07- Body - Warning Decals
07- Cab Interior - Back Wall
07- Cab Interior - Center Console
07- Cab Interior - Dashboard
07- Cab Interior - Firewall
07- Cab Interior - Floor
07- Enclosure Cab - Doors
08- Electric - Front Section
08- Electric - Front Wiring Harness - 710007441
08- Electric - Main Harness - 710007674
08- Electric - Rear Section
08- Electric - Winch
08- Electric - Winch Wiring Harness - 710007832
08- Electric - Wiring Voltage Regulator - 710008403
01- ROTAX - Air Intake Manifold And Throttle Body
01- ROTAX - Crankcase
01- ROTAX - Crankshaft and Pistons
01- ROTAX - CVT
01- ROTAX - Drive Shaft
01- ROTAX - Engine Cooling
01- ROTAX - Engine Harness And Electronic Module
01- ROTAX - Engine Lubrication
01- ROTAX - Front Cylinder Head
01- ROTAX - Gear Box 1 - 686 812 - Hua Yong - 1st Generation
01- ROTAX - Gear Box 1 - 686 863 - Tremec - 2nd Generation
01- ROTAX - Gear Box 2 - 686 812 - Hua Yong - 1st Generation
01- ROTAX - Gear Box 2 - 686 863 - Tremec - 2nd Generation
01- ROTAX - Gearbox Assy and Drive Shaft - 686 812 - Hua Yong - 1st Generation
01- ROTAX - Gearbox Assy and Drive Shaft - 686 863 - Tremec - 2nd Generation
01- ROTAX - Magneto and Electric Starter
01- ROTAX - Rear Cylinder Head
02- Engine - Air Intake
02- Engine - Cooling
02- Engine - Exhaust
02- Engine - Fuel
02- Engine - System
03- Mechanic - Brake System
03- Mechanic - Steering
04- Drive - Front - Common Parts
04- Drive - Front - Differential Parts
04- Drive - Front Wheels
04- Drive - Rear - Common Parts
04- Drive - Rear Wheels
05- Suspension - Front Components
05- Suspension - Front Shocks
05- Suspension - Rear Components
05- Suspension - Rear Shocks
06- Frame - System
07- Body - Decals
07- Body - Front Section
07- Body - Rear Section
07- Body - Seat
07- Body - Skid Plate
07- Body - Warning Decals
07- Cab Interior - Back Wall
07- Cab Interior - Center Console
07- Cab Interior - Dashboard
07- Cab Interior - Firewall
07- Cab Interior - Floor
07- Enclosure Cab - Doors
08- Electric - Front Section
08- Electric - Front Wiring Harness - 710007441
08- Electric - Main Harness - 710007674
08- Electric - Rear Section
08- Electric - Winch
08- Electric - Winch Wiring Harness - 710007832
08- Electric - Wiring Voltage Regulator - 710008403
View Cart
VIEW WISH LIST