Polaris
Browse New Models
Shop In-Stock
Can-Am
Browse New Models
Shop In-Stock
Ski-Doo
Browse New Models
Shop In-Stock
Sea-Doo
Browse New Models
Shop In-Stock
Kayo
Browse New Models
Shop In-Stock
Manitou
Browse New Models
Shop In-Stock
Our
Location
Call
Us
Contact
Us
Toggle navigation
Home
Brands
Showroom
Manufacturer Models
OEM Promotions
Polaris Off-Road
Polaris Snowmobiles
Can-Am
Sea-Doo
Ski-Doo
Kayo
Yamaha Marine
Triton Trailers
Manitou
Nitro Trailers
CAM Superline
Durabull Trailers
Trifecta Pontoons
Inventory
All Inventory In Stock
New Inventory In Stock
Pre-Owned Inventory
Value Your Trade-In
Request a Model
Financing
Parts
Parts Department
OEM Parts Finder
Service
Service Department
Request Polaris Service
Warranty & Recall Look-Up
Financing
About
Our Dealership
Our Team
Reviews
Customer Survey
Newsletter Sign-Up
Employment
Events
Location & Hours
Contact
Call Us
Fort Kent, ME
Fiche | Parts Diagrams
2018 LYNX Snowmobiles
Home
›
Parts
›
OEM Parts Finder
Search by :
Part / Desc
VIN
Please Select
Can-Am
LYNX
Polaris
Sea-Doo
Ski-Doo
Yamaha
*Please enter at least 3 characters
SEARCH
Manufacturer
Lynx
Snowmobiles
2018
RAVE 850 E-TEC
View Cart
VIEW WISH LIST
Select a Section
Show/Hide
00- Model Numbers
01- Cooling 850 E-TEC
01- Crankcase
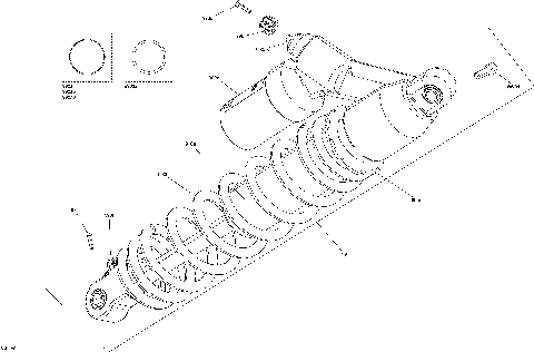
01- Crankshaft And Pistons
01- Cylinder And Cylinder Head
01- Engine Cooling
01- Engine Rave - 850 E-TEC
01- Exhaust Rave - 850 E-TEC
01- Rave Valve
02- Air Intake Manifold - 850 E-TEC
02- EFI
02- Fuel - 850 E-TEC
02- Oil System
03- Magneto And Electric Starter
04- Rewind Starter
05- Drive Train Rave - 850 E-TEC
05- Pulley Rave - 850 E-TEC
06- Brakes Rave - 850 E-TEC
07- Front Suspension And Ski Rave Engine 850 E-TEC
07- Shocks Front Package RE
07- Steering Rave - 850 E-TEC
08- Rear Shocks Rave - 850 E-TEC
08- Rear Suspension Shocks Rave - 850 E-TEC
09- Bottom Pan - 850 E-TEC
09- Decals Rave Engine 850 E-TEC
09- Frame Rave - 850 E-TEC
09- Hood - Front Section
09- Hood - Side Section
09- Luggage Rack - 850 E-TEC
09- Seat Rave - 850 E-TEC
09- Utilities Rave - 850 E-TEC
10- Electrical System Rave - 850 E-TEC - Electric Starter
10- Electrical System Rave - 850 E-TEC Manual Starter
10- Engine Harness
10- Main Harness - 515178364 - Rave - 850 E-TEC - Electric Starter
10- Main Harness - 515178368 - Rave - 850 E-TEC - Manual Starter
00- Model Numbers
01- Cooling 850 E-TEC
01- Crankcase
01- Crankshaft And Pistons
01- Cylinder And Cylinder Head
01- Engine Cooling
01- Engine Rave - 850 E-TEC
01- Exhaust Rave - 850 E-TEC
01- Rave Valve
02- Air Intake Manifold - 850 E-TEC
02- EFI
02- Fuel - 850 E-TEC
02- Oil System
03- Magneto And Electric Starter
04- Rewind Starter
05- Drive Train Rave - 850 E-TEC
05- Pulley Rave - 850 E-TEC
06- Brakes Rave - 850 E-TEC
07- Front Suspension And Ski Rave Engine 850 E-TEC
07- Shocks Front Package RE
07- Steering Rave - 850 E-TEC
08- Rear Shocks Rave - 850 E-TEC
08- Rear Suspension Shocks Rave - 850 E-TEC
09- Bottom Pan - 850 E-TEC
09- Decals Rave Engine 850 E-TEC
09- Frame Rave - 850 E-TEC
09- Hood - Front Section
09- Hood - Side Section
09- Luggage Rack - 850 E-TEC
09- Seat Rave - 850 E-TEC
09- Utilities Rave - 850 E-TEC
10- Electrical System Rave - 850 E-TEC - Electric Starter
10- Electrical System Rave - 850 E-TEC Manual Starter
10- Engine Harness
10- Main Harness - 515178364 - Rave - 850 E-TEC - Electric Starter
10- Main Harness - 515178368 - Rave - 850 E-TEC - Manual Starter
View Cart
VIEW WISH LIST