Polaris
Browse New Models
Shop In-Stock
Can-Am
Browse New Models
Shop In-Stock
Ski-Doo
Browse New Models
Shop In-Stock
Sea-Doo
Browse New Models
Shop In-Stock
Kayo
Browse New Models
Shop In-Stock
Manitou
Browse New Models
Shop In-Stock
Our
Location
Call
Us
Contact
Us
Toggle navigation
Home
Brands
Showroom
Manufacturer Models
OEM Promotions
Polaris Off-Road
Polaris Snowmobiles
Can-Am
Sea-Doo
Ski-Doo
Kayo
Yamaha Marine
Triton Trailers
Manitou
Nitro Trailers
CAM Superline
Durabull Trailers
Trifecta Pontoons
Inventory
All Inventory In Stock
New Inventory In Stock
Pre-Owned Inventory
Value Your Trade-In
Request a Model
Financing
Parts
Parts Department
OEM Parts Finder
Service
Service Department
Request Polaris Service
Warranty & Recall Look-Up
Financing
About
Our Dealership
Our Team
Reviews
Customer Survey
Newsletter Sign-Up
Employment
Events
Location & Hours
Contact
Call Us
Fort Kent, ME
Fiche | Parts Diagrams
2007 Polaris Snowmobiles
Home
›
Parts
›
OEM Parts Finder
Search by :
Part / Desc
VIN
Please Select
Can-Am
LYNX
Polaris
Sea-Doo
Ski-Doo
Yamaha
*Please enter at least 3 characters
SEARCH
Manufacturer
Polaris
Snowmobiles
2007
340 EDGE LX (S07ND3AS)
View Cart
VIEW WISH LIST
Select a Section
Show/Hide
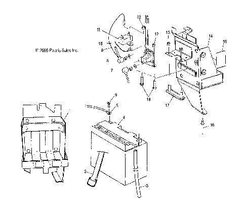
BATTERY BOX - S07ND3AS (4997199719B13)
BRAKE SYSTEM - S07ND3AS (4997239723B04)
CHAINCASE - S07ND3AS (4997239723C04)
CHASSIS - S07ND3AS (49SNOWCHASSIS340LX)
CONSOLE - S07ND3AS (4997199719A12)
DECALS - S07ND3AS (49SNOWDECAL550)
DRIVE CLUTCH - S07ND3AS (4997199719B11)
DRIVE TRAIN - S07ND3AS (49SNOWDRIVETRAIN340LX)
DRIVEN CLUTCH - S07ND3AS (49SNOWDRIVENCLUTCHTRAILRMK)
ENGINE BLOWER HOUSING and RECOIL STARTER - S07ND3AS (4997199719C06)
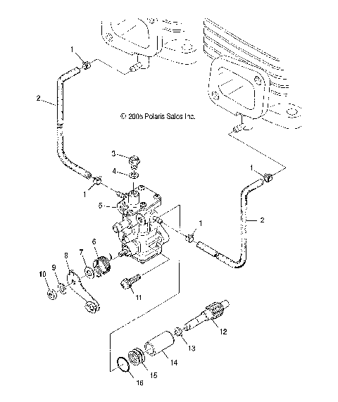
ENGINE, CARBURETOR - S07ND3AS (4997199719C10)
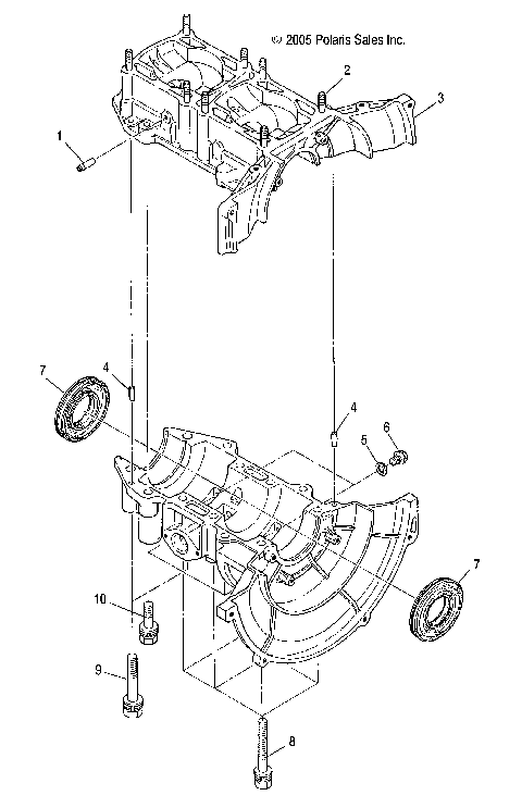
ENGINE, CRANKCASE - S07ND3AS (4997199719C03)
ENGINE, CYLINDER - S07ND3AS (4997199719C04)
ENGINE, FUEL PUMP - S07ND3AS (4997199719C07)
ENGINE, MAGNETO - S07ND3AS (4997199719C09)
ENGINE, MOUNTING - S07ND3AS (4997199719B14)
ENGINE, OIL PUMP - S07ND3AS (4997199719C08)
ENGINE, PISTON and CRANKSHAFT - S07ND3AS (4997199719C05)
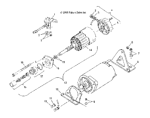
ENGINE, STARTING MOTOR - S07ND3AS (4997199719C11)
EXHAUST SYSTEM - S07ND3AS (4997199719C02)
FUEL SYSTEM - S07ND3AS (4997199719A05)
HANDLEBAR - S07ND3AS (49SNOWHANDLEBAR550)
HOOD FOAM/FOIL - S07ND3AS (4997199719A11)
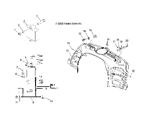
HOOD/HEADLIGHT - S07ND3AS (49SNOWHOODHEADLIGHT340LX)
HOOD/WINDSHIELD - S07ND3AS (49SNOWHOOD550)
NOSEPAN - S07ND3AS (4997199719A06)
NOSEPAN - S07ND3AS (49SNOWNOSEPANFOIL340LX)
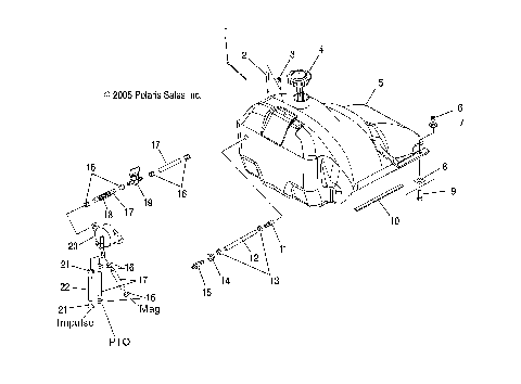
OIL TANK/AIR BOX - S07ND3AS (4997199719C01)
RAIL MOUNTING, SUSPENSION - S07ND3AS (4997239723B05)
SEAT - S07ND3AS (4997219721A04)
SKI ASSEMBLY - S07ND3AS (49SNOWSKIASMSUPER)
STEERING - S07ND3AS (4997299729B02)
STEERING/POST - S07ND3AS (4997259725B02)
SUSPENSION, FRONT - S07ND3AS (4997239723A12)
SUSPENSION, REAR - S07ND3AS (49SNOWSUSPRRSUPER)
TOOL KIT - S07ND3AS (49SNOWTOOL340LX)
TORQUE ARM, FRONT - S07ND3AS (4997239723B07)
TORQUE ARM, REAR - S07ND3AS (49SNOWTORQUEREAR340LX)
BATTERY BOX - S07ND3AS (4997199719B13)
BRAKE SYSTEM - S07ND3AS (4997239723B04)
CHAINCASE - S07ND3AS (4997239723C04)
CHASSIS - S07ND3AS (49SNOWCHASSIS340LX)
CONSOLE - S07ND3AS (4997199719A12)
DECALS - S07ND3AS (49SNOWDECAL550)
DRIVE CLUTCH - S07ND3AS (4997199719B11)
DRIVE TRAIN - S07ND3AS (49SNOWDRIVETRAIN340LX)
DRIVEN CLUTCH - S07ND3AS (49SNOWDRIVENCLUTCHTRAILRMK)
ENGINE BLOWER HOUSING and RECOIL STARTER - S07ND3AS (4997199719C06)
ENGINE, CARBURETOR - S07ND3AS (4997199719C10)
ENGINE, CRANKCASE - S07ND3AS (4997199719C03)
ENGINE, CYLINDER - S07ND3AS (4997199719C04)
ENGINE, FUEL PUMP - S07ND3AS (4997199719C07)
ENGINE, MAGNETO - S07ND3AS (4997199719C09)
ENGINE, MOUNTING - S07ND3AS (4997199719B14)
ENGINE, OIL PUMP - S07ND3AS (4997199719C08)
ENGINE, PISTON and CRANKSHAFT - S07ND3AS (4997199719C05)
ENGINE, STARTING MOTOR - S07ND3AS (4997199719C11)
EXHAUST SYSTEM - S07ND3AS (4997199719C02)
FUEL SYSTEM - S07ND3AS (4997199719A05)
HANDLEBAR - S07ND3AS (49SNOWHANDLEBAR550)
HOOD FOAM/FOIL - S07ND3AS (4997199719A11)
HOOD/HEADLIGHT - S07ND3AS (49SNOWHOODHEADLIGHT340LX)
HOOD/WINDSHIELD - S07ND3AS (49SNOWHOOD550)
NOSEPAN - S07ND3AS (4997199719A06)
NOSEPAN - S07ND3AS (49SNOWNOSEPANFOIL340LX)
OIL TANK/AIR BOX - S07ND3AS (4997199719C01)
RAIL MOUNTING, SUSPENSION - S07ND3AS (4997239723B05)
SEAT - S07ND3AS (4997219721A04)
SKI ASSEMBLY - S07ND3AS (49SNOWSKIASMSUPER)
STEERING - S07ND3AS (4997299729B02)
STEERING/POST - S07ND3AS (4997259725B02)
SUSPENSION, FRONT - S07ND3AS (4997239723A12)
SUSPENSION, REAR - S07ND3AS (49SNOWSUSPRRSUPER)
TOOL KIT - S07ND3AS (49SNOWTOOL340LX)
TORQUE ARM, FRONT - S07ND3AS (4997239723B07)
TORQUE ARM, REAR - S07ND3AS (49SNOWTORQUEREAR340LX)
View Cart
VIEW WISH LIST