Polaris
Browse New Models
Shop In-Stock
Can-Am
Browse New Models
Shop In-Stock
Ski-Doo
Browse New Models
Shop In-Stock
Sea-Doo
Browse New Models
Shop In-Stock
Kayo
Browse New Models
Shop In-Stock
Manitou
Browse New Models
Shop In-Stock
Our
Location
Call
Us
Contact
Us
Toggle navigation
Home
Brands
Showroom
Manufacturer Models
OEM Promotions
Polaris Off-Road
Polaris Snowmobiles
Can-Am
Sea-Doo
Ski-Doo
Kayo
Yamaha Marine
Triton Trailers
Manitou
Nitro Trailers
CAM Superline
Durabull Trailers
Trifecta Pontoons
Inventory
All Inventory In Stock
New Inventory In Stock
Pre-Owned Inventory
Value Your Trade-In
Request a Model
Financing
Parts
Parts Department
OEM Parts Finder
Service
Service Department
Request Polaris Service
Warranty & Recall Look-Up
Financing
About
Our Dealership
Our Team
Reviews
Customer Survey
Newsletter Sign-Up
Employment
Events
Location & Hours
Contact
Call Us
Fort Kent, ME
Fiche | Parts Diagrams
2007 Polaris Snowmobiles
Home
›
Parts
›
OEM Parts Finder
Search by :
Part / Desc
VIN
Please Select
Can-Am
LYNX
Polaris
Sea-Doo
Ski-Doo
Yamaha
*Please enter at least 3 characters
SEARCH
Manufacturer
Polaris
Snowmobiles
2007
TRAIL TOURING DELUXE (S07NT5BS/BSA/BE/BEA)
View Cart
VIEW WISH LIST
Select a Section
Show/Hide
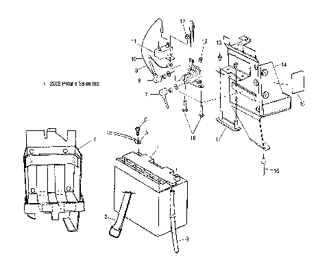
BATTERY BOX - S07NT5BS/BSA/BE/BEA (4997239723C08)
BRAKE SYSTEM - S07NT5BS/BSA/BE/BEA (4997239723B04)
BUMPER/HITCH/FLAP - S07NT5BS/BSA/BE/BEA (49SNOWBUMPER340TOUR)
CARGO BOX/TAILLIGHT ASM. - S07NT5BS/BSA/BE/BEA (49SNOWCARGO340TOUR)
CHAINCASE - S07NT5BS/BSA/BE/BEA (4997239723C04)
CHASSIS - S07NT5BS/BSA/BE/BEA (49SNOWCHASSISTRAILTRG)
CONSOLE - S07NT5BS/BSA/BE/BEA (49SNOWCONSOLE550LX)
DECALS - S07NT5BS/BSA/BE/BEA (49SNOWDECAL340TOUR)
DRIVE CLUTCH - S07NT5BS/BSA/BE/BEA (49SNOWDRIVECLUTCH550)
DRIVE TRAIN - S07NT5BS/BSA/BE/BEA (49SNOWDRIVETRAINSUPER)
DRIVEN CLUTCH - S07NT5BS/BSA/BE/BEA (49SNOWDRIVENCLUTCHTRAILRMK)
ENGINE BLOWER HOUSING and RECOIL STARTER - S07NT5BS/BSA/BE/BEA (49SNOWBLOWERSUPER)
ENGINE, CARBURETOR - S07NT5BS/BSA/BE/BEA (4997239723C14)
ENGINE, CRANKCASE - S07NT5BS/BSA/BE/BEA (4997239723C10)
ENGINE, CYLINDER - S07NT5BS/BSA/BE/BEA (4997239723C11)
ENGINE, FUEL PUMP - S07NT5BS/BSA/BE/BEA (4997239723D01)
ENGINE, MAGNETO - S07NT5BS/BSA/BE/BEA (4997239723D03)
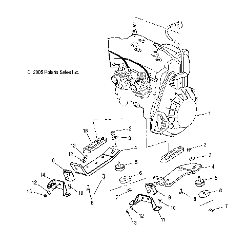
ENGINE, MOUNTING - S07NT5BS/BSA/BE/BEA (4997239723C09)
ENGINE, OIL PUMP (3 Way) - S07NT5BS/BSA/BE/BEA (4997239723D02)
ENGINE, PISTON and CRANKSHAFT - S07NT5BS/BSA/BE/BEA (4997239723C12)
ENGINE, STARTING MOTOR - S07NT5BS/BSA/BE/BEA (4997239723D04)
EXHAUST SYSTEM - S07NT5BS/BSA/BE/BEA (4997239723C07)
FUEL SYSTEM - S07NT5BS/BSA/BE/BEA (49SNOWFUELTRAILTRG)
HANDLEBAR - S07NT5BS/BSA/BE/BEA (49SNOWHANDLEBAR550)
HOOD - S07NT5BS/BSA/BE/BEA (49SNOWHOODSUPER)
HOOD FOAM/FOIL - S07NT5BS/BSA/BE/BEA (49SNOWHOODSCFLSUPER)
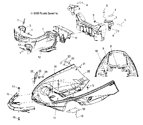
HOOD/WINDSHIELD - S07NT5BS/BSA/BE/BEA (49SNOWHOODTRAILTRG)
NOSEPAN - S07NT5BS/BSA/BE/BEA (4997259725A06)
NOSEPAN/FOIL - S07NT5BS/BSA/BE/BEA (49SNOWNOSEPANFOILTRAILTRG)
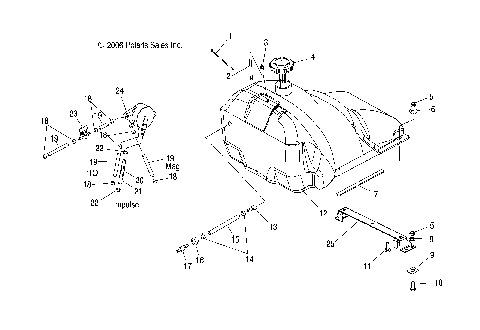
OIL TANK/AIRBOX - S07NT5BS/BSA/BE/BEA (49SNOWOILTANKAIRBOXTRAILRMK)
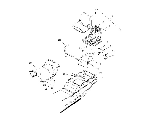
SEAT - S07NT5BS/BSA/BE/BEA (49SNOWSEATTRAILTRG)
SKI ASSEMBLY - S07NT5BS/BSA/BE/BEA (49SNOWSKIASMSUPER)
STEERING, LOWER - S07NT5BS/BSA/BE/BEA (4997259725B01)
STEERING/POST - S07NT5BS/BSA/BE/BEA (4997259725B02)
SUSPENSION - S07NT5BS/BSA/BE/BEA (49SNOWSUSPRR340TOUR)
SUSPENSION, FRONT - S07NT5BS/BSA/BE/BEA (4997239723A12)
SUSPENSION, RAIL MOUNTING - S07NT5BS/BSA/BE/BEA (49SNOWSUSPRAIL07340TRG)
TOOL KIT - S07NT5BS/BSA/BE/BEA (49SNOWTOOL500XCSP)
TORQUE ARM, FRONT - S07NT5BS/BSA/BE/BEA (4997299729B09)
TORQUE ARM, REAR - S07NT5BS/BSA/BE/BEA (4997299729B10)
BATTERY BOX - S07NT5BS/BSA/BE/BEA (4997239723C08)
BRAKE SYSTEM - S07NT5BS/BSA/BE/BEA (4997239723B04)
BUMPER/HITCH/FLAP - S07NT5BS/BSA/BE/BEA (49SNOWBUMPER340TOUR)
CARGO BOX/TAILLIGHT ASM. - S07NT5BS/BSA/BE/BEA (49SNOWCARGO340TOUR)
CHAINCASE - S07NT5BS/BSA/BE/BEA (4997239723C04)
CHASSIS - S07NT5BS/BSA/BE/BEA (49SNOWCHASSISTRAILTRG)
CONSOLE - S07NT5BS/BSA/BE/BEA (49SNOWCONSOLE550LX)
DECALS - S07NT5BS/BSA/BE/BEA (49SNOWDECAL340TOUR)
DRIVE CLUTCH - S07NT5BS/BSA/BE/BEA (49SNOWDRIVECLUTCH550)
DRIVE TRAIN - S07NT5BS/BSA/BE/BEA (49SNOWDRIVETRAINSUPER)
DRIVEN CLUTCH - S07NT5BS/BSA/BE/BEA (49SNOWDRIVENCLUTCHTRAILRMK)
ENGINE BLOWER HOUSING and RECOIL STARTER - S07NT5BS/BSA/BE/BEA (49SNOWBLOWERSUPER)
ENGINE, CARBURETOR - S07NT5BS/BSA/BE/BEA (4997239723C14)
ENGINE, CRANKCASE - S07NT5BS/BSA/BE/BEA (4997239723C10)
ENGINE, CYLINDER - S07NT5BS/BSA/BE/BEA (4997239723C11)
ENGINE, FUEL PUMP - S07NT5BS/BSA/BE/BEA (4997239723D01)
ENGINE, MAGNETO - S07NT5BS/BSA/BE/BEA (4997239723D03)
ENGINE, MOUNTING - S07NT5BS/BSA/BE/BEA (4997239723C09)
ENGINE, OIL PUMP (3 Way) - S07NT5BS/BSA/BE/BEA (4997239723D02)
ENGINE, PISTON and CRANKSHAFT - S07NT5BS/BSA/BE/BEA (4997239723C12)
ENGINE, STARTING MOTOR - S07NT5BS/BSA/BE/BEA (4997239723D04)
EXHAUST SYSTEM - S07NT5BS/BSA/BE/BEA (4997239723C07)
FUEL SYSTEM - S07NT5BS/BSA/BE/BEA (49SNOWFUELTRAILTRG)
HANDLEBAR - S07NT5BS/BSA/BE/BEA (49SNOWHANDLEBAR550)
HOOD - S07NT5BS/BSA/BE/BEA (49SNOWHOODSUPER)
HOOD FOAM/FOIL - S07NT5BS/BSA/BE/BEA (49SNOWHOODSCFLSUPER)
HOOD/WINDSHIELD - S07NT5BS/BSA/BE/BEA (49SNOWHOODTRAILTRG)
NOSEPAN - S07NT5BS/BSA/BE/BEA (4997259725A06)
NOSEPAN/FOIL - S07NT5BS/BSA/BE/BEA (49SNOWNOSEPANFOILTRAILTRG)
OIL TANK/AIRBOX - S07NT5BS/BSA/BE/BEA (49SNOWOILTANKAIRBOXTRAILRMK)
SEAT - S07NT5BS/BSA/BE/BEA (49SNOWSEATTRAILTRG)
SKI ASSEMBLY - S07NT5BS/BSA/BE/BEA (49SNOWSKIASMSUPER)
STEERING, LOWER - S07NT5BS/BSA/BE/BEA (4997259725B01)
STEERING/POST - S07NT5BS/BSA/BE/BEA (4997259725B02)
SUSPENSION - S07NT5BS/BSA/BE/BEA (49SNOWSUSPRR340TOUR)
SUSPENSION, FRONT - S07NT5BS/BSA/BE/BEA (4997239723A12)
SUSPENSION, RAIL MOUNTING - S07NT5BS/BSA/BE/BEA (49SNOWSUSPRAIL07340TRG)
TOOL KIT - S07NT5BS/BSA/BE/BEA (49SNOWTOOL500XCSP)
TORQUE ARM, FRONT - S07NT5BS/BSA/BE/BEA (4997299729B09)
TORQUE ARM, REAR - S07NT5BS/BSA/BE/BEA (4997299729B10)
View Cart
VIEW WISH LIST