Polaris
Browse New Models
Shop In-Stock
Can-Am
Browse New Models
Shop In-Stock
Ski-Doo
Browse New Models
Shop In-Stock
Sea-Doo
Browse New Models
Shop In-Stock
Kayo
Browse New Models
Shop In-Stock
Manitou
Browse New Models
Shop In-Stock
Our
Location
Call
Us
Contact
Us
Toggle navigation
Home
Brands
Showroom
Manufacturer Models
OEM Promotions
Polaris Off-Road
Polaris Snowmobiles
Can-Am
Sea-Doo
Ski-Doo
Kayo
Yamaha Marine
Triton Trailers
Manitou
Nitro Trailers
CAM Superline
Durabull Trailers
Trifecta Pontoons
Inventory
All Inventory In Stock
New Inventory In Stock
Pre-Owned Inventory
Value Your Trade-In
Request a Model
Financing
Parts
Parts Department
OEM Parts Finder
Service
Service Department
Request Polaris Service
Warranty & Recall Look-Up
Financing
About
Our Dealership
Our Team
Reviews
Customer Survey
Newsletter Sign-Up
Employment
Events
Location & Hours
Contact
Call Us
Fort Kent, ME
Fiche | Parts Diagrams
2012 Polaris Snowmobiles
Home
›
Parts
›
OEM Parts Finder
Search by :
Part / Desc
VIN
Please Select
Can-Am
LYNX
Polaris
Sea-Doo
Ski-Doo
Yamaha
*Please enter at least 3 characters
SEARCH
Manufacturer
Polaris
Snowmobiles
2012
600 IQ RACER/INTL (S12MX6JSA/JEA)
View Cart
VIEW WISH LIST
Select a Section
Show/Hide
BODY, CONSOLE - S12MX6JSA/JEA (49CONSOLE09600RR)
BODY, DECALS - S12MX6JSA/JEA (49SNOWDECAL12600RCR)
BODY, HOOD ASM. - S12MX6JSA/JEA (49SNOWHOOD08600IQ)
BODY, HOOD MOUNTING and FRONT BUMPER - S12MX6JSA/JEA (49SNOWHOODMTG07440IQ)
BODY, HOOD, FOAM and FOIL - S12MX6JSA/JEA (49SNOWHOODSCFL09600RACE)
BODY, NOSEPAN and SIDEPANELS - S12MX6JSA/JEA (49SNOWNOSEPAN08600IQ)
BODY, SEAT ASM. - S12MX6JSA/JEA (49SNOWSEAT12600RCR)
BRAKES, BRAKE SYSTEM - S12MX6JSA/JEA (49SNOWBRAKE08600IQ)
CHASSIS, ASM. - S12MX6JSA/JEA (49SNOWCHASSIS08600IQ)
CHASSIS, FOOTREST and CLUTCH GUARD - S12MX6JSA/JEA (49SNOWCHASSIS07440IQ)
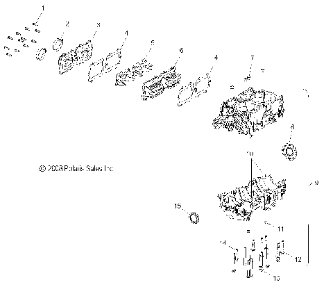
DRIVE TRAIN, CHAINCASE - S12MX6JSA/JEA (49SNOWCHAINCASE08600IQ)
DRIVE TRAIN, CLUTCH, PRIMARY - S12MX6JSA/JEA (49SNOWDRIVECLUTCH08600IQ)
DRIVE TRAIN, CLUTCH, SECONDARY - S12MX6JSA/JEA (49SNOWDRIVENCLUTCH08600TRG)
DRIVE TRAIN, JACKSHAFT and DRIVESHAFT - S12MX6JSA/JEA (49SNOWDRIVETRAIN08600IQ)
ELECTRICAL, IGNITION - S12MX6JSA/JEA (49SNOWIGNITION08600IQ)
ELECTRICAL, SWITCHES and COMPONENTS - S12MX6JSA/JEA (49SNOWELECT12600RCR)
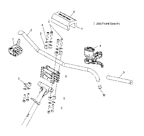
ENGINE, AIR INTAKE SYSTEM - S12MX6JSA/JEA (49SNOWAIR08600IQ)
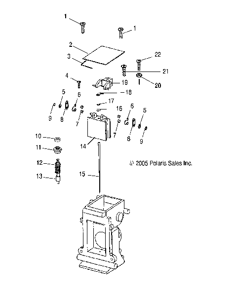
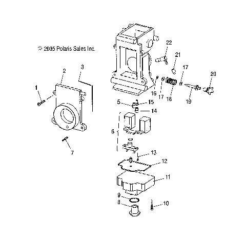
ENGINE, CARBURETOR - S12MX6JSA/JEA (49SNOWCARBURETOR08600IQ)
ENGINE, CARBURETOR, LOWER - S12MX6JSA/JEA (49SNOWCARBLOWER08600RR)
ENGINE, CARBURETOR, UPPER - S12MX6JSA/JEA (49SNOWCARBUPPER08600IQ)
ENGINE, COOLING SYSTEM - S12MX6JSA/JEA (49SNOWCOOLING09600RACE)
ENGINE, CRANKCASE - S12MX6JSA/JEA (49SNOWCRANKCASE09600RACE)
ENGINE, CYLINDER - S12MX6JSA/JEA (49SNOWCYLINDER12600IQRCR)
ENGINE, EXHAUST SYSTEM - S12MX6JSA/JEA (49SNOWEXHAUST08600IQ)
ENGINE, EXHAUST VALVES and SOLENOID - S12MX6JSA/JEA (49SNOWEXHAUSTVALVES08600IQ)
ENGINE, MOUNTING - S12MX6JSA/JEA (49SNOWENGINEMOUNT09600RACE)
ENGINE, PISTON and CRANKSHAFT - S12MX6JSA/JEA (49SNOWPISTONCRANKSHAFT09600RACE)
ENGINE, RECOIL STARTER - S12MX6JSA/JEA (49SNOWRECOIL08600IQ)
ENGINE, THROTTLE ASM. - S12MX6JSA/JEA (49SNOWTHROTTLE11RACE)
ENGINE, WATER PUMP - S12MX6JSA/JEA (49SNOWWATEROILPUMP08600IQ)
FUEL SYSTEM, FUEL TANK and FUEL PUMP - S12MX6JSA/JEA (49SNOWFUEL11600RCR)
STEERING, HANDLEBAR MOUNTING - S12MX6JSA/JEA (4997179717B02)
STEERING, LOWER and TIE RODS - S12MX6JSA/JEA (49SNOWSTEERINGLWR11600RCR)
STEERING, SKI ASM. - S12MX6JSA/JEA (49SNOW/SKIASM/11600RCR)
STEERING, STEERING POST ASM. - S12MX6JSA/JEA (49SNOWSTEERINGPOST12600IQRCR)
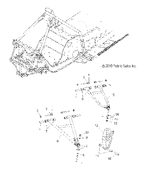
SUSPENSION, FRONT, CONTROL ARMS and SPINDLE - S12MX6JSA/JEA (49SNOWSUSPFRT11600RCR)
SUSPENSION, RAIL MOUNTING - S12MX6JSA/JEA (49SNOWSUSPRAIL11600RCR)
SUSPENSION, REAR - S12MX6JSA/JEA (49SNOWSUSPRR12600RCR)
SUSPENSION, SHOCK, FRONT TRACK - S12MX6JSA/JEA (49SNOWSHOCKFRONT7043817)
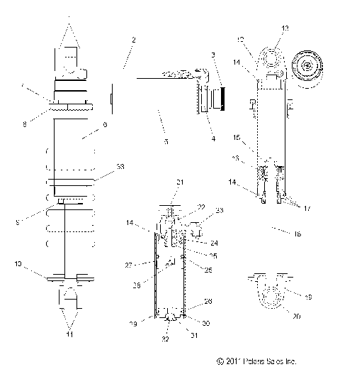
SUSPENSION, SHOCK, IFS - S12MX6JSA/JEA (49SNOWSHOCKIFS7043819)
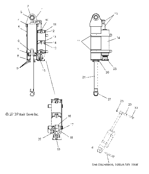
SUSPENSION, SHOCK, REAR TRACK - S12MX6JSA/JEA (49SNOWSHOCKIFS7043729)
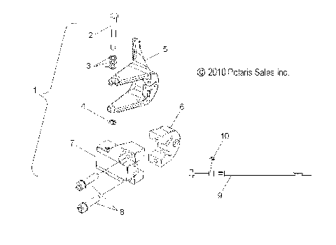
SUSPENSION, TORQUE ARM, FRONT - S12MX6JSA/JEA (49SNOWFTA11600RCR)
SUSPENSION, TORQUE ARM, REAR - S12MX6JSA/JEA (49SNOWTORQUEREAR08600RR)
TOOLS, TOOL KIT and OWNERS MANUAL - S12MX6JSA/JEA (49SNOWTOOL08600IQ)
BODY, CONSOLE - S12MX6JSA/JEA (49CONSOLE09600RR)
BODY, DECALS - S12MX6JSA/JEA (49SNOWDECAL12600RCR)
BODY, HOOD ASM. - S12MX6JSA/JEA (49SNOWHOOD08600IQ)
BODY, HOOD MOUNTING and FRONT BUMPER - S12MX6JSA/JEA (49SNOWHOODMTG07440IQ)
BODY, HOOD, FOAM and FOIL - S12MX6JSA/JEA (49SNOWHOODSCFL09600RACE)
BODY, NOSEPAN and SIDEPANELS - S12MX6JSA/JEA (49SNOWNOSEPAN08600IQ)
BODY, SEAT ASM. - S12MX6JSA/JEA (49SNOWSEAT12600RCR)
BRAKES, BRAKE SYSTEM - S12MX6JSA/JEA (49SNOWBRAKE08600IQ)
CHASSIS, ASM. - S12MX6JSA/JEA (49SNOWCHASSIS08600IQ)
CHASSIS, FOOTREST and CLUTCH GUARD - S12MX6JSA/JEA (49SNOWCHASSIS07440IQ)
DRIVE TRAIN, CHAINCASE - S12MX6JSA/JEA (49SNOWCHAINCASE08600IQ)
DRIVE TRAIN, CLUTCH, PRIMARY - S12MX6JSA/JEA (49SNOWDRIVECLUTCH08600IQ)
DRIVE TRAIN, CLUTCH, SECONDARY - S12MX6JSA/JEA (49SNOWDRIVENCLUTCH08600TRG)
DRIVE TRAIN, JACKSHAFT and DRIVESHAFT - S12MX6JSA/JEA (49SNOWDRIVETRAIN08600IQ)
ELECTRICAL, IGNITION - S12MX6JSA/JEA (49SNOWIGNITION08600IQ)
ELECTRICAL, SWITCHES and COMPONENTS - S12MX6JSA/JEA (49SNOWELECT12600RCR)
ENGINE, AIR INTAKE SYSTEM - S12MX6JSA/JEA (49SNOWAIR08600IQ)
ENGINE, CARBURETOR - S12MX6JSA/JEA (49SNOWCARBURETOR08600IQ)
ENGINE, CARBURETOR, LOWER - S12MX6JSA/JEA (49SNOWCARBLOWER08600RR)
ENGINE, CARBURETOR, UPPER - S12MX6JSA/JEA (49SNOWCARBUPPER08600IQ)
ENGINE, COOLING SYSTEM - S12MX6JSA/JEA (49SNOWCOOLING09600RACE)
ENGINE, CRANKCASE - S12MX6JSA/JEA (49SNOWCRANKCASE09600RACE)
ENGINE, CYLINDER - S12MX6JSA/JEA (49SNOWCYLINDER12600IQRCR)
ENGINE, EXHAUST SYSTEM - S12MX6JSA/JEA (49SNOWEXHAUST08600IQ)
ENGINE, EXHAUST VALVES and SOLENOID - S12MX6JSA/JEA (49SNOWEXHAUSTVALVES08600IQ)
ENGINE, MOUNTING - S12MX6JSA/JEA (49SNOWENGINEMOUNT09600RACE)
ENGINE, PISTON and CRANKSHAFT - S12MX6JSA/JEA (49SNOWPISTONCRANKSHAFT09600RACE)
ENGINE, RECOIL STARTER - S12MX6JSA/JEA (49SNOWRECOIL08600IQ)
ENGINE, THROTTLE ASM. - S12MX6JSA/JEA (49SNOWTHROTTLE11RACE)
ENGINE, WATER PUMP - S12MX6JSA/JEA (49SNOWWATEROILPUMP08600IQ)
FUEL SYSTEM, FUEL TANK and FUEL PUMP - S12MX6JSA/JEA (49SNOWFUEL11600RCR)
STEERING, HANDLEBAR MOUNTING - S12MX6JSA/JEA (4997179717B02)
STEERING, LOWER and TIE RODS - S12MX6JSA/JEA (49SNOWSTEERINGLWR11600RCR)
STEERING, SKI ASM. - S12MX6JSA/JEA (49SNOW/SKIASM/11600RCR)
STEERING, STEERING POST ASM. - S12MX6JSA/JEA (49SNOWSTEERINGPOST12600IQRCR)
SUSPENSION, FRONT, CONTROL ARMS and SPINDLE - S12MX6JSA/JEA (49SNOWSUSPFRT11600RCR)
SUSPENSION, RAIL MOUNTING - S12MX6JSA/JEA (49SNOWSUSPRAIL11600RCR)
SUSPENSION, REAR - S12MX6JSA/JEA (49SNOWSUSPRR12600RCR)
SUSPENSION, SHOCK, FRONT TRACK - S12MX6JSA/JEA (49SNOWSHOCKFRONT7043817)
SUSPENSION, SHOCK, IFS - S12MX6JSA/JEA (49SNOWSHOCKIFS7043819)
SUSPENSION, SHOCK, REAR TRACK - S12MX6JSA/JEA (49SNOWSHOCKIFS7043729)
SUSPENSION, TORQUE ARM, FRONT - S12MX6JSA/JEA (49SNOWFTA11600RCR)
SUSPENSION, TORQUE ARM, REAR - S12MX6JSA/JEA (49SNOWTORQUEREAR08600RR)
TOOLS, TOOL KIT and OWNERS MANUAL - S12MX6JSA/JEA (49SNOWTOOL08600IQ)
View Cart
VIEW WISH LIST