Polaris
Browse New Models
Shop In-Stock
Can-Am
Browse New Models
Shop In-Stock
Ski-Doo
Browse New Models
Shop In-Stock
Sea-Doo
Browse New Models
Shop In-Stock
Kayo
Browse New Models
Shop In-Stock
Manitou
Browse New Models
Shop In-Stock
Our
Location
Call
Us
Contact
Us
Toggle navigation
Home
Brands
Showroom
Manufacturer Models
OEM Promotions
Polaris Off-Road
Polaris Snowmobiles
Can-Am
Sea-Doo
Ski-Doo
Kayo
Yamaha Marine
Triton Trailers
Manitou
Nitro Trailers
CAM Superline
Durabull Trailers
Trifecta Pontoons
Inventory
All Inventory In Stock
New Inventory In Stock
Pre-Owned Inventory
Value Your Trade-In
Request a Model
Financing
Parts
Parts Department
OEM Parts Finder
Service
Service Department
Request Polaris Service
Warranty & Recall Look-Up
Financing
About
Our Dealership
Our Team
Reviews
Customer Survey
Newsletter Sign-Up
Employment
Events
Location & Hours
Contact
Call Us
Fort Kent, ME
Fiche | Parts Diagrams
2012 Polaris Snowmobiles
Home
›
Parts
›
OEM Parts Finder
Search by :
Part / Desc
VIN
Please Select
Can-Am
LYNX
Polaris
Sea-Doo
Ski-Doo
Yamaha
*Please enter at least 3 characters
SEARCH
Manufacturer
Polaris
Snowmobiles
2012
TURBO IQ LXT (S12PT7FSL)
View Cart
VIEW WISH LIST
Select a Section
Show/Hide
BODY, BACKREST and GRABHANDLE, PASSENGER - S12PT7FSL (49SNOWBACKREST11600IQLXT)
BODY, CONSOLE - S12PT7FSL (49SNOWCONSOLE11TRBO)
BODY, DECALS - S12PT7FSL (49SNOWDECAL11FSTIQTRG)
BODY, FENDERS, LH/RH - S12PT7FSL (49SNOWFENDERS10FSTTRG)
BODY, FRONT BUMPER and NOSEPAN - S12PT7FSL (49SNOWBUMPER10TRBOLX)
BODY, HOOD ASM. - S12PT7FSL (49SNOWHOOD11FSTIQTRG)
BODY, HOOD FOAM and FOIL - S12PT7FSL (49SNOWHOODSCFL10FSTTRG)
BODY, HOOD SCREENS and HINGE ASM. - S12PT7FSL (49SNOWHOODMTG11FSTTRG)
BODY, REAR BUMPER, HITCH, and SNOW FLAP - S12PT7FSL (49SNOWBUMPER10600TRG)
BODY, SEAT ASM. - S12PT7FSL (49SNOWSEAT09600TRG)
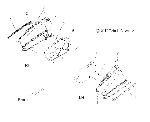
BODY, SIDE PANEL ASM., LH/RH - S12PT7FSL (49SNOWPANEL11FSTTRG)
BODY, SNOW SKIRTS - S12PT7FSL (49SNOWCARGO09600TRG)
BODY, WINDSHIELD and MIRRORS - S12PT7FSL (49SNOWWINDSHLD12TRBOIQLX)
BRAKES, BRAKE SYSTEM - S12PT7FSL (49SNOWBRAKE09SHIFT)
CHASSIS, ASM. and FOOTRESTS - S12PT7FSL (49SNOWCHASSIS09FSTRG)
CHASSIS, FRONT - S12PT7FSL (49SNOWCHASSISFRT09FSTRG)
DRIVE TRAIN, CLUTCH, PRIMARY - S12PT7FSL (49SNOWDRIVECLUTCH11FSTTRG)
DRIVE TRAIN, CLUTCH, SECONDARY - S12PT7FSL (49SNOWDRIVENCLUTCH09600RMK)
DRIVE TRAIN, GEARCASE ASM. - S12PT7FSL (49SNOWGEARCASE10FSTTRG)
DRIVE TRAIN, GEARCASE COVER ASM. and DIPSTICK - S12PT7FSL (49SNOWGEARCASECVR10FSTTRG)
DRIVE TRAIN, GEARCASE MOUNTING - S12PT7FSL (49SNOWGEARCASEMTG11TRBOIQLX)
DRIVE TRAIN, JACKSHAFT and DRIVESHAFT - S12PT7FSL (49SNOWDRIVETRAIN12TRBOIQLX)
ELECTRICAL, BATTERY and CABLES - S12PT7FSL (49SNOWBATTERY10TRBOLX)
ELECTRICAL, HEADLIGHT and TAILLIGHT - S12PT7FSL (49SNOWHEADLGHT10600TRG)
ELECTRICAL, IGNITION COILS and SPARK PLUGS - S12PT7FSL (4997479747D06)
ELECTRICAL, MULTI FUNCTION GAUGE - S12PT7FSL (49SNOWGAUGE09600TRG)
ELECTRICAL, SENSORS, SWITCHES and VALVES - S12PT7FSL (49SNOWSENSOR11FSTSBLX)
ELECTRICAL, SWITCHES and CONTROLS - S12PT7FSL (49SNOWELECT11FSTSBLX)
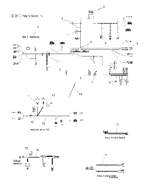
ELECTRICAL, WIRE HARNESS - S12PT7FSL (49SNOWWIREHARNESS11FSTTRG)
ENGINE - S12PT7FSL (49SNOWENGINE10FSTTRG)
ENGINE, AIR INTAKE SYSTEM - S12PT7FSL (49SNOWAIR09FSTTRG)
ENGINE, ALTERNATOR - S12PT7FSL (49SNOWALTERNATORFSTSWTCH)
ENGINE, CAM CHAIN and TENSIONERS - S12PT7FSL (4997479747D11)
ENGINE, COOLANT RAIL - S12PT7FSL (49SNOWCOOLANTFSTIQ)
ENGINE, COOLING SYSTEM - S12PT7FSL (49SNOWCOOLING10FSTTRG)
ENGINE, CRANKSHAFT and BALANCE SHAFT - S12PT7FSL (4997479747E02)
ENGINE, CYLINDER and CRANKCASE - S12PT7FSL (49SNOWCYLINDER10FSTTRG)
ENGINE, DRIVE GEAR and PULLEY - S12PT7FSL (4997479747E06)
ENGINE, EXHAUST - S12PT7FSL (49SNOWEXHAUST12TRBOIQLX)
ENGINE, FUEL RAIL - S12PT7FSL (4997479747E03)
ENGINE, IDLE AIR CONTROL ASM. - S12PT7FSL (49SNOWIDLE09FSTRG)
ENGINE, INTER COOLER - S12PT7FSL (49SNOWCOOLER09FSTTRG)
ENGINE, MOUNTING, LH - S12PT7FSL (49SNOWENGINEMOUNTLH12TRBOIQLX)
ENGINE, MOUNTING, RH and FRONT - S12PT7FSL (49SNOWENGINEMOUNTRH08IQTRBO)
ENGINE, OIL COOLING SYSTEM - S12PT7FSL (49SNOWOILTANK10FSTRG)
ENGINE, OIL FILTER - S12PT7FSL (49SNOWOILFILTERFS)
ENGINE, OIL PUMP - S12PT7FSL (4997479747E01)
ENGINE, OIL SUMP - S12PT7FSL (49SNOWOILSUMP11IQ)
ENGINE, PISTON - S12PT7FSL (4997479747D12)
ENGINE, REFERENCE HOSES - S12PT7FSL (49SNOWHOSES11TRBOIQLX)
ENGINE, STARTER MOTOR - S12PT7FSL (4997479747E04)
ENGINE, THROTTLE BODY/INTAKE MANIFOLD - S12PT7FSL (4997479747D09)
ENGINE, THROTTLE CONTROL ASM. - S12PT7FSL (49SNOWTHROTTLE10FSTTRG)
ENGINE, TURBO - S12PT7FSL (49SNOWTURBOFST)
ENGINE, VALVE COVER - S12PT7FSL (49SNOWVALVECVR08IQTRBO)
ENGINE, VALVE TRAIN - S12PT7FSL (4997479747D13)
ENGINE, VALVES - S12PT7FSL (4997479747D14)
ENGINE, WATER PUMP - S12PT7FSL (4997479747D10)
ENGINE, WIRE HARNESS - S12PT7FSL (49SNOWHARNESS10FSTTRG)
FUEL SYSTEM, FUEL TANK ASM. - S12PT7FSL (49SNOWFUEL10FSTTRG)
FUEL SYSTEM, THROTTLE BODY and FUEL LINES - S12PT7FSL (49SNOWTHROTTLE09FSTRG)
STEERING, ADJUSTABLE STEERING POST ASM. - S12PT7FSL (49SNOWSTEERING11FSTSBLX)
STEERING, DRAG LINK - S12PT7FSL (49SNOWSTEERINGDRGLK10FSTTRG)
STEERING, HANDLEBAR MOUNTING - S12PT7FSL (49SNOWHANDLEBAR09600TRG)
STEERING, LOWER and TIE RODS - S12PT7FSL (49SNOWSTEERINGLWR11FSTSBLX)
STEERING, SKI ASM. - S12PT7FSL (49SNOWSKIASMFSTOUR)
STEERING, STEERING HOOP ASM. - S12PT7FSL(49SNOWSTEERINGHOOP10FSTTRG)
SUSPENSION, FRONT ASM. - S12PT7FSL (49SNOWSUSPFRT09FSTRG)
SUSPENSION, RAIL MOUNTING - S12PT7FSL (49SNOWSUSPRAIL12600)
SUSPENSION, REAR - S12PT7FSL (49SNOWSUSPRR11FSTTRG)
SUSPENSION, SHOCK, FRONT TRACK (7043328) - S12PT7FSL (49SNOWSHOCKFRONT7043328)
SUSPENSION, SHOCK, IFS (7043289) - S12PT7FSL (49SNOWSHOCKIFS7043289)
SUSPENSION, SHOCK, REAR TRACK (7043327) - S12PT7FSL (49SNOWSHOCKREAR7043327)
SUSPENSION, SWAY BAR - S12PT7FSL (49SNOWSWAYBAR09FSTRG)
SUSPENSION, TORQUE ARM, FRONT - S12PT7FSL (49SNOWFTA10TRBODRGN)
SUSPENSION, TORQUE ARM, REAR - S12PT7FSL (49SNOWTORQUEREAR08600TRG)
TOOLS, TOOL KIT and OWNERS MANUAL - S12PT7FSL (49SNOWTOOL09FSTRG)
BODY, BACKREST and GRABHANDLE, PASSENGER - S12PT7FSL (49SNOWBACKREST11600IQLXT)
BODY, CONSOLE - S12PT7FSL (49SNOWCONSOLE11TRBO)
BODY, DECALS - S12PT7FSL (49SNOWDECAL11FSTIQTRG)
BODY, FENDERS, LH/RH - S12PT7FSL (49SNOWFENDERS10FSTTRG)
BODY, FRONT BUMPER and NOSEPAN - S12PT7FSL (49SNOWBUMPER10TRBOLX)
BODY, HOOD ASM. - S12PT7FSL (49SNOWHOOD11FSTIQTRG)
BODY, HOOD FOAM and FOIL - S12PT7FSL (49SNOWHOODSCFL10FSTTRG)
BODY, HOOD SCREENS and HINGE ASM. - S12PT7FSL (49SNOWHOODMTG11FSTTRG)
BODY, REAR BUMPER, HITCH, and SNOW FLAP - S12PT7FSL (49SNOWBUMPER10600TRG)
BODY, SEAT ASM. - S12PT7FSL (49SNOWSEAT09600TRG)
BODY, SIDE PANEL ASM., LH/RH - S12PT7FSL (49SNOWPANEL11FSTTRG)
BODY, SNOW SKIRTS - S12PT7FSL (49SNOWCARGO09600TRG)
BODY, WINDSHIELD and MIRRORS - S12PT7FSL (49SNOWWINDSHLD12TRBOIQLX)
BRAKES, BRAKE SYSTEM - S12PT7FSL (49SNOWBRAKE09SHIFT)
CHASSIS, ASM. and FOOTRESTS - S12PT7FSL (49SNOWCHASSIS09FSTRG)
CHASSIS, FRONT - S12PT7FSL (49SNOWCHASSISFRT09FSTRG)
DRIVE TRAIN, CLUTCH, PRIMARY - S12PT7FSL (49SNOWDRIVECLUTCH11FSTTRG)
DRIVE TRAIN, CLUTCH, SECONDARY - S12PT7FSL (49SNOWDRIVENCLUTCH09600RMK)
DRIVE TRAIN, GEARCASE ASM. - S12PT7FSL (49SNOWGEARCASE10FSTTRG)
DRIVE TRAIN, GEARCASE COVER ASM. and DIPSTICK - S12PT7FSL (49SNOWGEARCASECVR10FSTTRG)
DRIVE TRAIN, GEARCASE MOUNTING - S12PT7FSL (49SNOWGEARCASEMTG11TRBOIQLX)
DRIVE TRAIN, JACKSHAFT and DRIVESHAFT - S12PT7FSL (49SNOWDRIVETRAIN12TRBOIQLX)
ELECTRICAL, BATTERY and CABLES - S12PT7FSL (49SNOWBATTERY10TRBOLX)
ELECTRICAL, HEADLIGHT and TAILLIGHT - S12PT7FSL (49SNOWHEADLGHT10600TRG)
ELECTRICAL, IGNITION COILS and SPARK PLUGS - S12PT7FSL (4997479747D06)
ELECTRICAL, MULTI FUNCTION GAUGE - S12PT7FSL (49SNOWGAUGE09600TRG)
ELECTRICAL, SENSORS, SWITCHES and VALVES - S12PT7FSL (49SNOWSENSOR11FSTSBLX)
ELECTRICAL, SWITCHES and CONTROLS - S12PT7FSL (49SNOWELECT11FSTSBLX)
ELECTRICAL, WIRE HARNESS - S12PT7FSL (49SNOWWIREHARNESS11FSTTRG)
ENGINE - S12PT7FSL (49SNOWENGINE10FSTTRG)
ENGINE, AIR INTAKE SYSTEM - S12PT7FSL (49SNOWAIR09FSTTRG)
ENGINE, ALTERNATOR - S12PT7FSL (49SNOWALTERNATORFSTSWTCH)
ENGINE, CAM CHAIN and TENSIONERS - S12PT7FSL (4997479747D11)
ENGINE, COOLANT RAIL - S12PT7FSL (49SNOWCOOLANTFSTIQ)
ENGINE, COOLING SYSTEM - S12PT7FSL (49SNOWCOOLING10FSTTRG)
ENGINE, CRANKSHAFT and BALANCE SHAFT - S12PT7FSL (4997479747E02)
ENGINE, CYLINDER and CRANKCASE - S12PT7FSL (49SNOWCYLINDER10FSTTRG)
ENGINE, DRIVE GEAR and PULLEY - S12PT7FSL (4997479747E06)
ENGINE, EXHAUST - S12PT7FSL (49SNOWEXHAUST12TRBOIQLX)
ENGINE, FUEL RAIL - S12PT7FSL (4997479747E03)
ENGINE, IDLE AIR CONTROL ASM. - S12PT7FSL (49SNOWIDLE09FSTRG)
ENGINE, INTER COOLER - S12PT7FSL (49SNOWCOOLER09FSTTRG)
ENGINE, MOUNTING, LH - S12PT7FSL (49SNOWENGINEMOUNTLH12TRBOIQLX)
ENGINE, MOUNTING, RH and FRONT - S12PT7FSL (49SNOWENGINEMOUNTRH08IQTRBO)
ENGINE, OIL COOLING SYSTEM - S12PT7FSL (49SNOWOILTANK10FSTRG)
ENGINE, OIL FILTER - S12PT7FSL (49SNOWOILFILTERFS)
ENGINE, OIL PUMP - S12PT7FSL (4997479747E01)
ENGINE, OIL SUMP - S12PT7FSL (49SNOWOILSUMP11IQ)
ENGINE, PISTON - S12PT7FSL (4997479747D12)
ENGINE, REFERENCE HOSES - S12PT7FSL (49SNOWHOSES11TRBOIQLX)
ENGINE, STARTER MOTOR - S12PT7FSL (4997479747E04)
ENGINE, THROTTLE BODY/INTAKE MANIFOLD - S12PT7FSL (4997479747D09)
ENGINE, THROTTLE CONTROL ASM. - S12PT7FSL (49SNOWTHROTTLE10FSTTRG)
ENGINE, TURBO - S12PT7FSL (49SNOWTURBOFST)
ENGINE, VALVE COVER - S12PT7FSL (49SNOWVALVECVR08IQTRBO)
ENGINE, VALVE TRAIN - S12PT7FSL (4997479747D13)
ENGINE, VALVES - S12PT7FSL (4997479747D14)
ENGINE, WATER PUMP - S12PT7FSL (4997479747D10)
ENGINE, WIRE HARNESS - S12PT7FSL (49SNOWHARNESS10FSTTRG)
FUEL SYSTEM, FUEL TANK ASM. - S12PT7FSL (49SNOWFUEL10FSTTRG)
FUEL SYSTEM, THROTTLE BODY and FUEL LINES - S12PT7FSL (49SNOWTHROTTLE09FSTRG)
STEERING, ADJUSTABLE STEERING POST ASM. - S12PT7FSL (49SNOWSTEERING11FSTSBLX)
STEERING, DRAG LINK - S12PT7FSL (49SNOWSTEERINGDRGLK10FSTTRG)
STEERING, HANDLEBAR MOUNTING - S12PT7FSL (49SNOWHANDLEBAR09600TRG)
STEERING, LOWER and TIE RODS - S12PT7FSL (49SNOWSTEERINGLWR11FSTSBLX)
STEERING, SKI ASM. - S12PT7FSL (49SNOWSKIASMFSTOUR)
STEERING, STEERING HOOP ASM. - S12PT7FSL(49SNOWSTEERINGHOOP10FSTTRG)
SUSPENSION, FRONT ASM. - S12PT7FSL (49SNOWSUSPFRT09FSTRG)
SUSPENSION, RAIL MOUNTING - S12PT7FSL (49SNOWSUSPRAIL12600)
SUSPENSION, REAR - S12PT7FSL (49SNOWSUSPRR11FSTTRG)
SUSPENSION, SHOCK, FRONT TRACK (7043328) - S12PT7FSL (49SNOWSHOCKFRONT7043328)
SUSPENSION, SHOCK, IFS (7043289) - S12PT7FSL (49SNOWSHOCKIFS7043289)
SUSPENSION, SHOCK, REAR TRACK (7043327) - S12PT7FSL (49SNOWSHOCKREAR7043327)
SUSPENSION, SWAY BAR - S12PT7FSL (49SNOWSWAYBAR09FSTRG)
SUSPENSION, TORQUE ARM, FRONT - S12PT7FSL (49SNOWFTA10TRBODRGN)
SUSPENSION, TORQUE ARM, REAR - S12PT7FSL (49SNOWTORQUEREAR08600TRG)
TOOLS, TOOL KIT and OWNERS MANUAL - S12PT7FSL (49SNOWTOOL09FSTRG)
View Cart
VIEW WISH LIST