Polaris
Browse New Models
Shop In-Stock
Can-Am
Browse New Models
Shop In-Stock
Ski-Doo
Browse New Models
Shop In-Stock
Sea-Doo
Browse New Models
Shop In-Stock
Kayo
Browse New Models
Shop In-Stock
Manitou
Browse New Models
Shop In-Stock
Our
Location
Call
Us
Contact
Us
Toggle navigation
Home
Brands
Showroom
Manufacturer Models
OEM Promotions
Polaris Off-Road
Polaris Snowmobiles
Can-Am
Sea-Doo
Ski-Doo
Kayo
Yamaha Marine
Triton Trailers
Manitou
Nitro Trailers
CAM Superline
Durabull Trailers
Trifecta Pontoons
Inventory
All Inventory In Stock
New Inventory In Stock
Pre-Owned Inventory
Value Your Trade-In
Request a Model
Financing
Parts
Parts Department
OEM Parts Finder
Service
Service Department
Request Polaris Service
Warranty & Recall Look-Up
Financing
About
Our Dealership
Our Team
Reviews
Customer Survey
Newsletter Sign-Up
Employment
Events
Location & Hours
Contact
Call Us
Fort Kent, ME
Fiche | Parts Diagrams
2012 Polaris Snowmobiles
Home
›
Parts
›
OEM Parts Finder
Search by :
Part / Desc
VIN
Please Select
Can-Am
LYNX
Polaris
Sea-Doo
Ski-Doo
Yamaha
*Please enter at least 3 characters
SEARCH
Manufacturer
Polaris
Snowmobiles
2012
WIDETRAK LX INTL (S12SU4BEL)
View Cart
VIEW WISH LIST
Select a Section
Show/Hide
BODY, BACKREST ASM. - S12SU4BEL (49SNOWBACKREST11WIDELX)
BODY, CONSOLE - S12SU4BEL (49SNOWCONSOLE11WIDELX)
BODY, DECALS - S12SU4BEL (49SNOWDECAL11WIDELX)
BODY, HOOD ASM. and WINDSHIELD - S12SU4BEL (49SNOWHOOD10WIDELX)
BODY, HOOD FOAM and FOIL - S12SU4BEL (49SNOWHOODSCFL11WIDELX)
BODY, HOOD HINGE and BRACE ASM. - S12SU4BEL (49SNOWHOODMTG11WIDELX)
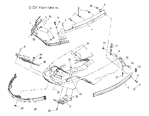
BODY, NOSEPAN and FOIL - S12SU4BEL (49SNOWNOSEPAN10WIDELX)
BODY, NOSEPAN BRACES and BUMPER - S12SU4BEL (49SNOWNOSEPAN12WIDE)
BODY, SEAT ASM. - S12SU4BEL (49SNOWSEAT10WIDELX)
BRAKES, BRAKE SYSTEM - S12SU4BEL (49SNOWBRAKE10600WIDE)
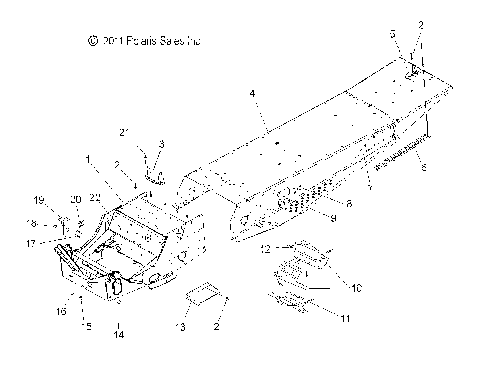
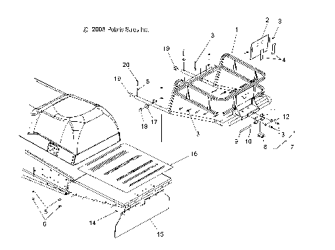
CHASSIS, RACK ASM. and SNOW FLAP - S12SU4BEL (49SNOWRACK09WIDELX)
CHASSIS, SEAT RISER - S12SU4BEL (49SNOWRISER10WIDE)
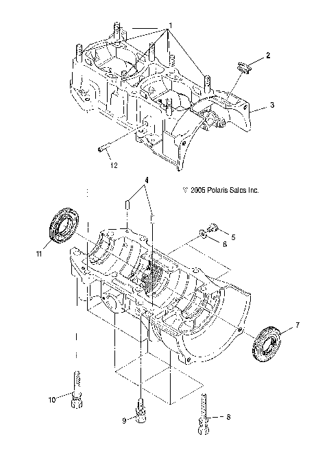
CHASSIS, TUNNEL - S12SU4BEL (49SNOWTUNNEL12WIDE)
DRIVE TRAIN, CLUTCH, PRIMARY - S12SU4BEL (4997559755B12)
DRIVE TRAIN, CLUTCH, SECONDARY - S12SU4BEL (49SNOWDRIVENCLUTCH11WIDELX)
DRIVE TRAIN, DRIVE SHAFT and JACK SHAFT - S12SU4BEL (49SNOWDRIVETRAIN09WIDELX)
DRIVE TRAIN, GEARCASE (1 of 2) - S12SU4BEL (49SNOWDRIVETRAIN10WIDELX)
DRIVE TRAIN, GEARCASE (2 of 2) - S12SU4BEL (4997559755B10)
DRIVE TRAIN, GEARCASE MOUNTING - S12SU4BEL (49SNOWGEARCASEMTG09WIDELX)
DRIVE TRAIN, SHIFT LINKAGE - S12SU4BEL (49SNOWSHIFT09WIDELX)
ELECTRICAL, BATTERY - S12SU4BEL (49SNOWBATTERY09WIDELX)
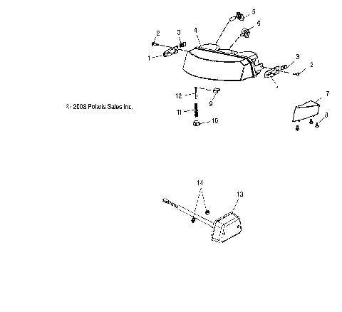
ELECTRICAL, HEADLIGHT and TAILLIGHT - S12SU4BEL (49SNOWHEADLGHT09WIDELX)
ELECTRICAL, IGNITION SYSTEM and SWITCH - S12SU4BEL (49SNOWMAGNETO14WIDELX)
ELECTRICAL, SPEEDOMETER and INDICATOR LIGHTS - S12SU4BEL (49SNOWSPEEDO09WIDELX)
ELECTRICAL, WIRE HARNESSES and COMPONENTS - S12SU4BEL (49SNOWELECT10WIDELX)
ENGINE, AIR INTAKE SYSTEM - S12SU4BEL (49SNOWAIR12WIDE)
ENGINE, CARBURETOR and CHOKE - S12SU4BEL (49SNOWCARBURETOR09WIDELX)
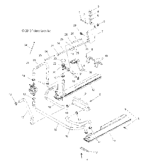
ENGINE, COOLING SYSTEM - S12SU4BEL (49SNOWCOOLING11WIDELX)
ENGINE, CRANKCASE - S12SU4BEL (4997559755C06)
ENGINE, CYLINDER - S12SU4BEL (4997559755C07)
ENGINE, EXHAUST - S12SU4BEL (49SNOWEXHAUST09WIDELX)
ENGINE, FUEL PUMP - S12SU4BEL (49SNOWFUELPUMP09WIDELX)
ENGINE, MOUNTING - S12SU4BEL (49SNOWENGINEMOUNT09WIDELX)
ENGINE, OIL PUMP - S12SU4BEL (4997559755C11)
ENGINE, OIL TANK - S12SU4BEL (49SNOWOILTANK09WIDELX)
ENGINE, PISTON and CRANKSHAFT - S12SU4BEL (4997559755C08)
ENGINE, RECOIL STARTER - S12SU4BEL (4997559755C13)
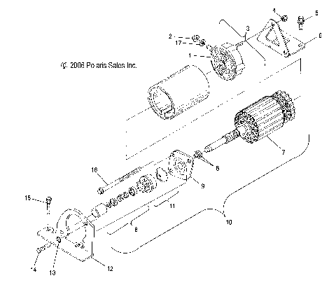
ENGINE, STARTING MOTOR - S12SU4BEL (49SNOWSTARTER09WIDELX)
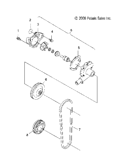
ENGINE, WATER PUMP - S12SU4BEL (49SNOWWATERPUMP09WIDELX)
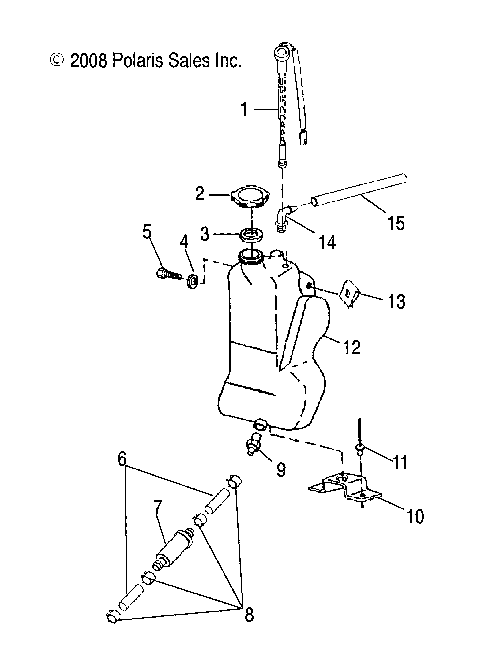
FUEL SYSTEM, FUEL TANK and HOSES - S12SU4BEL (49SNOWFUEL09WIDELX)
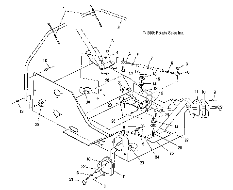
STEERING, HANDLEBAR - S12SU4BEL (49SNOWHANDLEBAR10WIDE)
STEERING, LOWER - S12SU4BEL (4997559755B01)
STEERING, SKI ASM. - S12SU4BEL (49SNOWSKIASM08WIDE)
SUSPENSION EXTENSION - S12SU4BEL (49SNOWSUSPEXT08WIDE)
SUSPENSION, COUPLER LINK - S12SU4BEL (4997559755B07)
SUSPENSION, FRONT - S12SU4BEL (49SNOWSUSPFRT08WIDE)
SUSPENSION, REAR - S12SU4BEL (49SNOWSUSPRR08WIDE)
SUSPENSION, SHOCK, FRONT TRACK - S12SU4BEL (49SNOWSHOCKFRONT7041742)
SUSPENSION, SHOCK, IFS - S12SU4BEL (49SNOWSHOCKIFS7041535)
SUSPENSION, SHOCK, REAR TRACK - S12SU4BEL (49SNOWSHOCKREAR7042309)
SUSPENSION, TORQUE ARM, FRONT - S12SU4BEL (49SNOWFTA10WIDE)
SUSPENSION, TORQUE ARM, REAR and PIVOT ARM - S12SU4BEL (49SNOWTORQUEREAR10WIDE)
TOOLS, TOOL KIT - S12SU4BEL (49SNOWTOOL12WIDE)
BODY, BACKREST ASM. - S12SU4BEL (49SNOWBACKREST11WIDELX)
BODY, CONSOLE - S12SU4BEL (49SNOWCONSOLE11WIDELX)
BODY, DECALS - S12SU4BEL (49SNOWDECAL11WIDELX)
BODY, HOOD ASM. and WINDSHIELD - S12SU4BEL (49SNOWHOOD10WIDELX)
BODY, HOOD FOAM and FOIL - S12SU4BEL (49SNOWHOODSCFL11WIDELX)
BODY, HOOD HINGE and BRACE ASM. - S12SU4BEL (49SNOWHOODMTG11WIDELX)
BODY, NOSEPAN and FOIL - S12SU4BEL (49SNOWNOSEPAN10WIDELX)
BODY, NOSEPAN BRACES and BUMPER - S12SU4BEL (49SNOWNOSEPAN12WIDE)
BODY, SEAT ASM. - S12SU4BEL (49SNOWSEAT10WIDELX)
BRAKES, BRAKE SYSTEM - S12SU4BEL (49SNOWBRAKE10600WIDE)
CHASSIS, RACK ASM. and SNOW FLAP - S12SU4BEL (49SNOWRACK09WIDELX)
CHASSIS, SEAT RISER - S12SU4BEL (49SNOWRISER10WIDE)
CHASSIS, TUNNEL - S12SU4BEL (49SNOWTUNNEL12WIDE)
DRIVE TRAIN, CLUTCH, PRIMARY - S12SU4BEL (4997559755B12)
DRIVE TRAIN, CLUTCH, SECONDARY - S12SU4BEL (49SNOWDRIVENCLUTCH11WIDELX)
DRIVE TRAIN, DRIVE SHAFT and JACK SHAFT - S12SU4BEL (49SNOWDRIVETRAIN09WIDELX)
DRIVE TRAIN, GEARCASE (1 of 2) - S12SU4BEL (49SNOWDRIVETRAIN10WIDELX)
DRIVE TRAIN, GEARCASE (2 of 2) - S12SU4BEL (4997559755B10)
DRIVE TRAIN, GEARCASE MOUNTING - S12SU4BEL (49SNOWGEARCASEMTG09WIDELX)
DRIVE TRAIN, SHIFT LINKAGE - S12SU4BEL (49SNOWSHIFT09WIDELX)
ELECTRICAL, BATTERY - S12SU4BEL (49SNOWBATTERY09WIDELX)
ELECTRICAL, HEADLIGHT and TAILLIGHT - S12SU4BEL (49SNOWHEADLGHT09WIDELX)
ELECTRICAL, IGNITION SYSTEM and SWITCH - S12SU4BEL (49SNOWMAGNETO14WIDELX)
ELECTRICAL, SPEEDOMETER and INDICATOR LIGHTS - S12SU4BEL (49SNOWSPEEDO09WIDELX)
ELECTRICAL, WIRE HARNESSES and COMPONENTS - S12SU4BEL (49SNOWELECT10WIDELX)
ENGINE, AIR INTAKE SYSTEM - S12SU4BEL (49SNOWAIR12WIDE)
ENGINE, CARBURETOR and CHOKE - S12SU4BEL (49SNOWCARBURETOR09WIDELX)
ENGINE, COOLING SYSTEM - S12SU4BEL (49SNOWCOOLING11WIDELX)
ENGINE, CRANKCASE - S12SU4BEL (4997559755C06)
ENGINE, CYLINDER - S12SU4BEL (4997559755C07)
ENGINE, EXHAUST - S12SU4BEL (49SNOWEXHAUST09WIDELX)
ENGINE, FUEL PUMP - S12SU4BEL (49SNOWFUELPUMP09WIDELX)
ENGINE, MOUNTING - S12SU4BEL (49SNOWENGINEMOUNT09WIDELX)
ENGINE, OIL PUMP - S12SU4BEL (4997559755C11)
ENGINE, OIL TANK - S12SU4BEL (49SNOWOILTANK09WIDELX)
ENGINE, PISTON and CRANKSHAFT - S12SU4BEL (4997559755C08)
ENGINE, RECOIL STARTER - S12SU4BEL (4997559755C13)
ENGINE, STARTING MOTOR - S12SU4BEL (49SNOWSTARTER09WIDELX)
ENGINE, WATER PUMP - S12SU4BEL (49SNOWWATERPUMP09WIDELX)
FUEL SYSTEM, FUEL TANK and HOSES - S12SU4BEL (49SNOWFUEL09WIDELX)
STEERING, HANDLEBAR - S12SU4BEL (49SNOWHANDLEBAR10WIDE)
STEERING, LOWER - S12SU4BEL (4997559755B01)
STEERING, SKI ASM. - S12SU4BEL (49SNOWSKIASM08WIDE)
SUSPENSION EXTENSION - S12SU4BEL (49SNOWSUSPEXT08WIDE)
SUSPENSION, COUPLER LINK - S12SU4BEL (4997559755B07)
SUSPENSION, FRONT - S12SU4BEL (49SNOWSUSPFRT08WIDE)
SUSPENSION, REAR - S12SU4BEL (49SNOWSUSPRR08WIDE)
SUSPENSION, SHOCK, FRONT TRACK - S12SU4BEL (49SNOWSHOCKFRONT7041742)
SUSPENSION, SHOCK, IFS - S12SU4BEL (49SNOWSHOCKIFS7041535)
SUSPENSION, SHOCK, REAR TRACK - S12SU4BEL (49SNOWSHOCKREAR7042309)
SUSPENSION, TORQUE ARM, FRONT - S12SU4BEL (49SNOWFTA10WIDE)
SUSPENSION, TORQUE ARM, REAR and PIVOT ARM - S12SU4BEL (49SNOWTORQUEREAR10WIDE)
TOOLS, TOOL KIT - S12SU4BEL (49SNOWTOOL12WIDE)
View Cart
VIEW WISH LIST