Polaris
Browse New Models
Shop In-Stock
Can-Am
Browse New Models
Shop In-Stock
Ski-Doo
Browse New Models
Shop In-Stock
Sea-Doo
Browse New Models
Shop In-Stock
Kayo
Browse New Models
Shop In-Stock
Manitou
Browse New Models
Shop In-Stock
Our
Location
Call
Us
Contact
Us
Toggle navigation
Home
Brands
Showroom
Manufacturer Models
OEM Promotions
Polaris Off-Road
Polaris Snowmobiles
Can-Am
Sea-Doo
Ski-Doo
Kayo
Yamaha Marine
Triton Trailers
Manitou
Nitro Trailers
CAM Superline
Durabull Trailers
Trifecta Pontoons
Inventory
All Inventory In Stock
New Inventory In Stock
Pre-Owned Inventory
Value Your Trade-In
Request a Model
Financing
Parts
Parts Department
OEM Parts Finder
Service
Service Department
Request Polaris Service
Warranty & Recall Look-Up
Financing
About
Our Dealership
Our Team
Reviews
Customer Survey
Newsletter Sign-Up
Employment
Events
Location & Hours
Contact
Call Us
Fort Kent, ME
Fiche | Parts Diagrams
2015 Polaris Snowmobiles
Home
›
Parts
›
OEM Parts Finder
Search by :
Part / Desc
VIN
Please Select
Can-Am
LYNX
Polaris
Sea-Doo
Ski-Doo
Yamaha
*Please enter at least 3 characters
SEARCH
Manufacturer
Polaris
Snowmobiles
2015
600 SWITCHBACK ASSAULT ALL OPTIONS (S15CL6/CW6)
View Cart
VIEW WISH LIST
Select a Section
Show/Hide
BODY, BUMPER, FRONT - S15CL6/CW6 ALL OPTIONS (49SNOWBUMPER12SBASLT)
BODY, BUMPER, REAR, SNOWFLAP and TAILLIGHT COVER - S15CL6/CW6 ALL OPTIONS (49SNOWBUMPERRR11800PRMK)
BODY, CONSOLE - S15CL6/CW6 ALL OPTIONS (49SNOWCONSOLE11PRMK)
BODY, DECAL, LE BLK/ORNG, BLK/PINK OPTIONS - S15CW6 (49SNOWDECAL15SBLTL2)
BODY, DECAL, LE ORNG/WHT, WHT/ORNG OPTIONS - S15CW6 (49SNOWDECAL15SBLTL1)
BODY, DECAL, LE WHT/RED, GRAY/RED, BLK/RED OPTIONS - S15CW6(49SNOWDECAL15SBLTLE)
BODY, DECAL, LE, 60TH ANNIV. OPT. - S15CW6 (49SNOWDECAL15SBSL60)
BODY, DECAL, STOCK AND SC SIDE PANEL OPT - S15CL6/CW6 ALL OPTIONS (49SNOWDECAL15SBASLT)
BODY, FENDERS and SIDE PANELS - S15CL6/CW6 ALL OPTIONS (49SNOWFENDERS12SB)
BODY, HOOD ASM. - S15CL6/CW6 ALL OPTIONS (49SNOWHOOD13SB)
BODY, HOOD FOAM/FIBER - S15CL6/CW6 ALL OPTIONS (49SNOWHOODSCFL11RUSH)
BODY, NOSEPAN ASM. - S15CL6/CW6 ALL OPTIONS (49SNOWNOSEPAN11800PRMK)
BODY, SEAT ASM. - S15CL6/CW6 ALL OPTIONS (49SNOWSEAT14SBASLT)
BODY, WINDSHIELD - S15CL6/CW6 ALL OPTIONS (49SNOWWINDSHLD12800SB)
BRAKES, BRAKE SYSTEM - S15CL6/CW6 ALL OPTIONS (49SNOWBRAKE11800SB)
CHASSIS, BULKHEAD ASM. - S15CL6/CW6 ALL OPTIONS (49SNOWCHASSISFRT13600RUSH)
CHASSIS, CHASSIS ASM. and OVER STRUCTURE - S15CL6/CW6 ALL OPTIONS (49SNOWCHASSISFRT214SBASLT)
CHASSIS, CLUTCH GUARD and FOOTRESTS - S15CL6/CW6 ALL OPTIONS (49SNOWCLUTCHGUARD14SBASLT)
DRIVE TRAIN, CHAINCASE - S15CL6/CW6 ALL OPTIONS (49SNOWCHAINCASE12800SB)
DRIVE TRAIN, CLUTCH, PRIMARY - S15CL6/CW6 ALL OPTIONS (49SNOWDRIVECLUTCH09600TRG)
DRIVE TRAIN, CLUTCH, SECONDARY - S15CL6/CW8 ALL OPTIONS (49SNOWDRIVENCLUTCH1322948)
DRIVE TRAIN, JACKSHAFT and DRIVESHAFT - S15CL6/CW6 ALL OPTIONS (49SNOWDRIVETRAIN11600PRO)
ELECTRICAL, BATTERY and CABLES - S15CL6/CW6 ALL OPTIONS (49SNOWBATTERY13ASSLT)
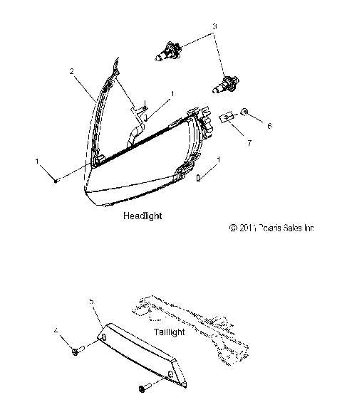
ELECTRICAL, HEADLIGHT and TAILLIGHT - S15CL6/CW6 ALL OPTIONS (49SNOWHEADLGHT12SBASLT)
ELECTRICAL, IGNITION SYSTEM - S15CL6/CW6 ALL OPTIONS (49SNOWIGNITION13RMKASLT)
ELECTRICAL, MULTI FUNCTION GAUGE - S15CL6/CW6 ALL OPTIONS (49SNOWGAUGE10PR)
ELECTRICAL, SWITCHES, SENSORS and COMPONENTS - S15CL6/CW6 ALL OPTIONS (49SNOWELECT13SBASSLT)
ELECTRICAL, WIRE HARNESS - S15CL6/CW6 ALL OPTIONS (49SNOWHARNESS14ASSLT)
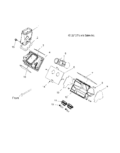
ENGINE, AIR INTAKE SYSTEM - S15CL6/CW6 ALL OPTIONS (49SNOWAIR14SBASLT)
ENGINE, COOLING SYSTEM - S15CL6/CW6 ALL OPTIONS (49SNOWCOOLING13INDY)
ENGINE, CRANKCASE - S15CL6/CW6 (49SNOWCRANKCASE136LE)
ENGINE, CYLINDER - S15CL6/CW6 ALL OPTIONS (49SNOWCYLINDER09600TRG)
ENGINE, EXHAUST - S15CL6/CW6 ALL OPTIONS (49SNOWEXHAUST13600LE)
ENGINE, EXHAUST VALVES and SOLENOID - S15CL6/CW6 ALL OPTIONS (49SNOWEXHAUSTVALVES13LE)
ENGINE, MOUNTING & SHORT BLOCK - S15CL6/CW6 ALL OPTIONS (49SNOWENGINEMOUNT13600LE)
ENGINE, OIL BOTTLE ASM. - S15CL6/CW6 ALL OPTIONS (49SNOWOILBOTTLE13600RUSH)
ENGINE, OIL PUMP and LINES - S15CL6/CW6 ALL OPTIONS (49SNOWOILPUMP12PR)
ENGINE, PISTON and CRANKSHAFT - S15CL6/CW6 ALL OPTIONS (49SNOWPISTONCRANKSHAFT15600LE)
ENGINE, RECOIL STARTER - S15CL6/CW6 ALL OPTIONS (49SNOWRECOIL12800RMK)
ENGINE, REED VALVE and THROTTLE BODY ADAPTER - S15CL6/CW6 ALL OPTIONS (49SNOWCARBURETOR09600TRG)
ENGINE, STARTER MOTOR - S15CL6/CW6 ALL OPTIONS (49SNOWSTARTER13RUSH)
ENGINE, THROTTLE CONTROL ASM. - S15CL6/CW6 ALL OPTIONS (49SNOWTHROTTLE13RMK)
ENGINE, WATER PUMP - S15CL6/CW6 ALL OPTIONS (49SNOWWATERPUMP13RMK)
FUEL SYSTEM, FUEL TANK ASM. - S15CL6/CW6 ALL OPTIONS (49SNOWFUEL13ASSLT)
FUEL SYSTEM, RAIL, LINES and THROTTLE BODY - S15CL6/CW6 ALL OPTIONS (49SNOWFUELLINE14RMK)
OPTIONS, STORAGE BAGS - S15CW6 FEATURES/OPTIONS (49SNOWOPTION15SBASLT)
STEERING, HANDLEBAR MOUNTING - S15CL6/CW6 ALL OPTIONS (49SNOWHANDLEBAR15SBASLT)
STEERING, LOWER - S15CL6/CW6 ALL OPTIONS (49SNOWSTEERINGLWR12800SB)
STEERING, SKI ASM. - S15CL6/CW6 ALL OPTIONS (49SNOWSKIASM13SBPRO)
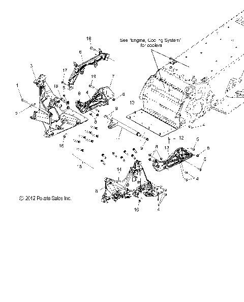
SUSPENSION, CONTROL ARMS and SPINDLE - S15CL6/CW6 ALL OPTIONS (49SNOWSUSPFRT12800SB)
SUSPENSION, RAIL MOUNTING - S15CL6/CW6 ALL OPTIONS (49SNOWSUSPRAIL13SBASLT)
SUSPENSION, REAR - S15CL6/CW6 ALL OPTIONS (49SNOWSUSPRR11800SB)
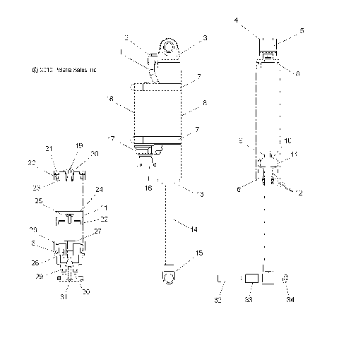
SUSPENSION, SHOCK, FRONT TRACK - S15CL6/CW6 ALL OPTIONS (49SNOWSHOCKFRONT7043634)
SUSPENSION, SHOCK, IFS - S15CL6/CW6 ALL OPTIONS (49SNOWSHOCKIFS7043731)
SUSPENSION, SHOCK, REAR TRACK - S15CL6/CW6 ALL OPTIONS (49SNOWSHOCKREAR7043635)
SUSPENSION, SWAY BAR - S15CL6/CW6 ALL OPTIONS (49SNOWSWAYBAR10PR)
SUSPENSION, TORQUE ARM, FRONT - S15CL6/CW6 ALL OPTIONS (49SNOWFTA12SBASLT)
SUSPENSION, TORQUE ARM, REAR - S15CL6/CW6 ALL OPTIONS (49SNOWTORQUEREAR10600RMK)
TOOLS, TOOL KIT and OWNERS MANUAL - S15CL6/CW6 ALL OPTIONS (49SNOWTOOL12SBASLT)
BODY, BUMPER, FRONT - S15CL6/CW6 ALL OPTIONS (49SNOWBUMPER12SBASLT)
BODY, BUMPER, REAR, SNOWFLAP and TAILLIGHT COVER - S15CL6/CW6 ALL OPTIONS (49SNOWBUMPERRR11800PRMK)
BODY, CONSOLE - S15CL6/CW6 ALL OPTIONS (49SNOWCONSOLE11PRMK)
BODY, DECAL, LE BLK/ORNG, BLK/PINK OPTIONS - S15CW6 (49SNOWDECAL15SBLTL2)
BODY, DECAL, LE ORNG/WHT, WHT/ORNG OPTIONS - S15CW6 (49SNOWDECAL15SBLTL1)
BODY, DECAL, LE WHT/RED, GRAY/RED, BLK/RED OPTIONS - S15CW6(49SNOWDECAL15SBLTLE)
BODY, DECAL, LE, 60TH ANNIV. OPT. - S15CW6 (49SNOWDECAL15SBSL60)
BODY, DECAL, STOCK AND SC SIDE PANEL OPT - S15CL6/CW6 ALL OPTIONS (49SNOWDECAL15SBASLT)
BODY, FENDERS and SIDE PANELS - S15CL6/CW6 ALL OPTIONS (49SNOWFENDERS12SB)
BODY, HOOD ASM. - S15CL6/CW6 ALL OPTIONS (49SNOWHOOD13SB)
BODY, HOOD FOAM/FIBER - S15CL6/CW6 ALL OPTIONS (49SNOWHOODSCFL11RUSH)
BODY, NOSEPAN ASM. - S15CL6/CW6 ALL OPTIONS (49SNOWNOSEPAN11800PRMK)
BODY, SEAT ASM. - S15CL6/CW6 ALL OPTIONS (49SNOWSEAT14SBASLT)
BODY, WINDSHIELD - S15CL6/CW6 ALL OPTIONS (49SNOWWINDSHLD12800SB)
BRAKES, BRAKE SYSTEM - S15CL6/CW6 ALL OPTIONS (49SNOWBRAKE11800SB)
CHASSIS, BULKHEAD ASM. - S15CL6/CW6 ALL OPTIONS (49SNOWCHASSISFRT13600RUSH)
CHASSIS, CHASSIS ASM. and OVER STRUCTURE - S15CL6/CW6 ALL OPTIONS (49SNOWCHASSISFRT214SBASLT)
CHASSIS, CLUTCH GUARD and FOOTRESTS - S15CL6/CW6 ALL OPTIONS (49SNOWCLUTCHGUARD14SBASLT)
DRIVE TRAIN, CHAINCASE - S15CL6/CW6 ALL OPTIONS (49SNOWCHAINCASE12800SB)
DRIVE TRAIN, CLUTCH, PRIMARY - S15CL6/CW6 ALL OPTIONS (49SNOWDRIVECLUTCH09600TRG)
DRIVE TRAIN, CLUTCH, SECONDARY - S15CL6/CW8 ALL OPTIONS (49SNOWDRIVENCLUTCH1322948)
DRIVE TRAIN, JACKSHAFT and DRIVESHAFT - S15CL6/CW6 ALL OPTIONS (49SNOWDRIVETRAIN11600PRO)
ELECTRICAL, BATTERY and CABLES - S15CL6/CW6 ALL OPTIONS (49SNOWBATTERY13ASSLT)
ELECTRICAL, HEADLIGHT and TAILLIGHT - S15CL6/CW6 ALL OPTIONS (49SNOWHEADLGHT12SBASLT)
ELECTRICAL, IGNITION SYSTEM - S15CL6/CW6 ALL OPTIONS (49SNOWIGNITION13RMKASLT)
ELECTRICAL, MULTI FUNCTION GAUGE - S15CL6/CW6 ALL OPTIONS (49SNOWGAUGE10PR)
ELECTRICAL, SWITCHES, SENSORS and COMPONENTS - S15CL6/CW6 ALL OPTIONS (49SNOWELECT13SBASSLT)
ELECTRICAL, WIRE HARNESS - S15CL6/CW6 ALL OPTIONS (49SNOWHARNESS14ASSLT)
ENGINE, AIR INTAKE SYSTEM - S15CL6/CW6 ALL OPTIONS (49SNOWAIR14SBASLT)
ENGINE, COOLING SYSTEM - S15CL6/CW6 ALL OPTIONS (49SNOWCOOLING13INDY)
ENGINE, CRANKCASE - S15CL6/CW6 (49SNOWCRANKCASE136LE)
ENGINE, CYLINDER - S15CL6/CW6 ALL OPTIONS (49SNOWCYLINDER09600TRG)
ENGINE, EXHAUST - S15CL6/CW6 ALL OPTIONS (49SNOWEXHAUST13600LE)
ENGINE, EXHAUST VALVES and SOLENOID - S15CL6/CW6 ALL OPTIONS (49SNOWEXHAUSTVALVES13LE)
ENGINE, MOUNTING & SHORT BLOCK - S15CL6/CW6 ALL OPTIONS (49SNOWENGINEMOUNT13600LE)
ENGINE, OIL BOTTLE ASM. - S15CL6/CW6 ALL OPTIONS (49SNOWOILBOTTLE13600RUSH)
ENGINE, OIL PUMP and LINES - S15CL6/CW6 ALL OPTIONS (49SNOWOILPUMP12PR)
ENGINE, PISTON and CRANKSHAFT - S15CL6/CW6 ALL OPTIONS (49SNOWPISTONCRANKSHAFT15600LE)
ENGINE, RECOIL STARTER - S15CL6/CW6 ALL OPTIONS (49SNOWRECOIL12800RMK)
ENGINE, REED VALVE and THROTTLE BODY ADAPTER - S15CL6/CW6 ALL OPTIONS (49SNOWCARBURETOR09600TRG)
ENGINE, STARTER MOTOR - S15CL6/CW6 ALL OPTIONS (49SNOWSTARTER13RUSH)
ENGINE, THROTTLE CONTROL ASM. - S15CL6/CW6 ALL OPTIONS (49SNOWTHROTTLE13RMK)
ENGINE, WATER PUMP - S15CL6/CW6 ALL OPTIONS (49SNOWWATERPUMP13RMK)
FUEL SYSTEM, FUEL TANK ASM. - S15CL6/CW6 ALL OPTIONS (49SNOWFUEL13ASSLT)
FUEL SYSTEM, RAIL, LINES and THROTTLE BODY - S15CL6/CW6 ALL OPTIONS (49SNOWFUELLINE14RMK)
OPTIONS, STORAGE BAGS - S15CW6 FEATURES/OPTIONS (49SNOWOPTION15SBASLT)
STEERING, HANDLEBAR MOUNTING - S15CL6/CW6 ALL OPTIONS (49SNOWHANDLEBAR15SBASLT)
STEERING, LOWER - S15CL6/CW6 ALL OPTIONS (49SNOWSTEERINGLWR12800SB)
STEERING, SKI ASM. - S15CL6/CW6 ALL OPTIONS (49SNOWSKIASM13SBPRO)
SUSPENSION, CONTROL ARMS and SPINDLE - S15CL6/CW6 ALL OPTIONS (49SNOWSUSPFRT12800SB)
SUSPENSION, RAIL MOUNTING - S15CL6/CW6 ALL OPTIONS (49SNOWSUSPRAIL13SBASLT)
SUSPENSION, REAR - S15CL6/CW6 ALL OPTIONS (49SNOWSUSPRR11800SB)
SUSPENSION, SHOCK, FRONT TRACK - S15CL6/CW6 ALL OPTIONS (49SNOWSHOCKFRONT7043634)
SUSPENSION, SHOCK, IFS - S15CL6/CW6 ALL OPTIONS (49SNOWSHOCKIFS7043731)
SUSPENSION, SHOCK, REAR TRACK - S15CL6/CW6 ALL OPTIONS (49SNOWSHOCKREAR7043635)
SUSPENSION, SWAY BAR - S15CL6/CW6 ALL OPTIONS (49SNOWSWAYBAR10PR)
SUSPENSION, TORQUE ARM, FRONT - S15CL6/CW6 ALL OPTIONS (49SNOWFTA12SBASLT)
SUSPENSION, TORQUE ARM, REAR - S15CL6/CW6 ALL OPTIONS (49SNOWTORQUEREAR10600RMK)
TOOLS, TOOL KIT and OWNERS MANUAL - S15CL6/CW6 ALL OPTIONS (49SNOWTOOL12SBASLT)
View Cart
VIEW WISH LIST