Polaris
Browse New Models
Shop In-Stock
Can-Am
Browse New Models
Shop In-Stock
Ski-Doo
Browse New Models
Shop In-Stock
Sea-Doo
Browse New Models
Shop In-Stock
Kayo
Browse New Models
Shop In-Stock
Manitou
Browse New Models
Shop In-Stock
Our
Location
Call
Us
Contact
Us
Toggle navigation
Home
Brands
Showroom
Manufacturer Models
OEM Promotions
Polaris Off-Road
Polaris Snowmobiles
Can-Am
Sea-Doo
Ski-Doo
Kayo
Yamaha Marine
Triton Trailers
Manitou
Nitro Trailers
CAM Superline
Durabull Trailers
Trifecta Pontoons
Inventory
All Inventory In Stock
New Inventory In Stock
Pre-Owned Inventory
Value Your Trade-In
Request a Model
Financing
Parts
Parts Department
OEM Parts Finder
Service
Service Department
Request Polaris Service
Warranty & Recall Look-Up
Financing
About
Our Dealership
Our Team
Reviews
Customer Survey
Newsletter Sign-Up
Employment
Events
Location & Hours
Contact
Call Us
Fort Kent, ME
Fiche | Parts Diagrams
2015 Polaris Snowmobiles
Home
›
Parts
›
OEM Parts Finder
Search by :
Part / Desc
VIN
Please Select
Can-Am
LYNX
Polaris
Sea-Doo
Ski-Doo
Yamaha
*Please enter at least 3 characters
SEARCH
Manufacturer
Polaris
Snowmobiles
2015
600 WIDETRAK IQ/INTL (S15PU6NSL/NEL)
View Cart
VIEW WISH LIST
Select a Section
Show/Hide
BODY, BACKREST AND GRABHANDLES - S15PU6NSL/NEL (49SNOWBACKREST13WIDE)
BODY, CONSOLE ASM. - S15PU6NSL/NEL (49SNOWCONSOLE10600WIDE)
BODY, DECALS - S15PU6NSL/NEL (49SNOWDECAL14WIDE)
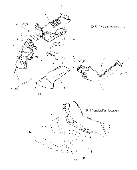
BODY, FENDER ASM., LH/RH - S15PU6NSL/NEL (49SNOWFENDERS11WIDE)
BODY, FRONT BUMPER MOUNTING - S15PU6NSL/NEL (49SNOWBUMPER10600WIDE)
BODY, HOOD ASM. - S15PU6NSL/NEL (49SNOWHOOD12WIDE)
BODY, HOOD, FOAM and FOIL - S15PU6NSL/NEL (49SNOWHOODSCFL10600WIDE)
BODY, HOOD, FRONT HINGE ASM. - S15PU6NSL/NEL (49SNOWHOODMTG10600WIDE)
BODY, NOSEPAN and TIE ROD BOOT - S15PU6NSL/NEL (49SNOWNOSEPAN10WIDE)
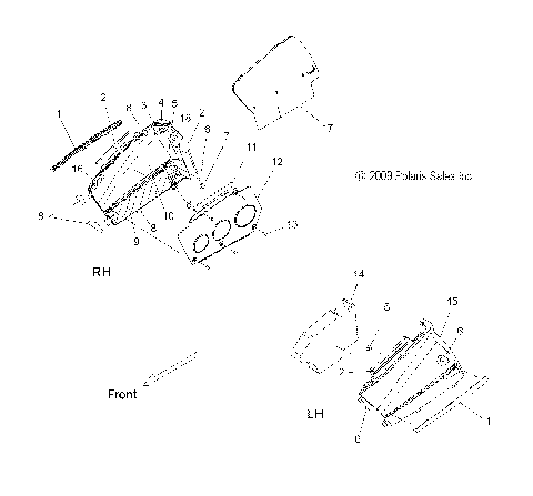
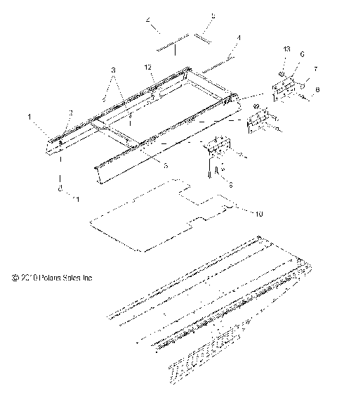
BODY, REAR RACK and SNOWFLAP - S15PU6NSL/NEL (49SNOWRACK10WIDE)
BODY, SEAT ASM. - S15PU6NSL/NEL (49SNOWSEAT10WIDE)
BODY, SEAT RISER ASM. - S15PU6NSL/NEL (49SNOWRISER11WIDE)
BODY, SIDE PANELS - S15PU6NSL/NEL (49SNOWPANEL10600WIDE)
BODY, WINDSHIELD and MIRRORS - S15PU6NSL/NEL (49SNOWWINDSHLD09WIDE)
BRAKES, BRAKE CALIPER and DISC - S15PU6NSL/NEL (49SNOWBRAKE10600WIDE)
CHASSIS, CHASSIS ASM., and FOOTWELL ASM., LH/RH - S15PU6NSL/NEL (49SNOWCHASSISFRT10600WIDE)
CHASSIS, CLUTCH GUARD ASM. - S15PU6NSL/NEL (49SNOWCLUTCHGUARD13WIDE)
CHASSIS, FRONT, BRACKETS and PLATES - S15PU6NSL/NEL (49SNOWCHASSIS11WIDE)
CHASSIS, SHOCK TOWERS - S15PU6NSL/NEL (49SNOWTOWER10600WIDE)
DRIVE TRAIN, CLUTCH, PRIMARY - S15PU6NSL/NEL (49SNOWDRIVECLUTCH09600TRG)
DRIVE TRAIN, CLUTCH, SECONDARY - S15PU6NSL/NEL (49SNOWDRIVENCLUTCH15IQWIDE)
DRIVE TRAIN, DRIVESHAFT ASM. and JACKSHAFT ASM. - S15PU6NSL/NEL (49SNOWDRIVETRAIN10WIDE)
DRIVE TRAIN, GEARCASE (1 of 2) - S15PU6NSL/NEL (49SNOWGEARCASE10600WIDE1)
DRIVE TRAIN, GEARCASE (2 of 2) - S15PU6NSL/NEL (49SNOWGEARCASE10600WIDE2)
DRIVE TRAIN, GEARCASE MOUNTING - S15PU6NSL/NEL (49SNOWGEARCASEMTG10600WIDE)
DRIVE TRAIN, SHIFT LINKAGE - S15PU6NSL/NEL (49SNOWSHIFT11WIDE)
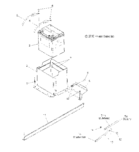
ELECTRICAL, BATTERY - S15PU6NSL/NEL (49SNOWBATTERY11WIDE)
ELECTRICAL, HEADLIGHT - S15PU6NSL/NEL (49SNOWHEADLGHT11WIDE)
ELECTRICAL, IGNITION SYSTEM - S15PU6NSL/NEL (49SNOWMAGNETO11WIDE)
ELECTRICAL, MULTI FUNCTION GAUGE - S15PU6NSL/NEL (49SNOWGAUGE09WIDE)
ELECTRICAL, SENSORS and ELECTRICAL COMPONENTS - S15PU6NSL/NEL (49SNOWSENSOR11WIDE)
ELECTRICAL, TAILLIGHT ASM. - S15PU6NSL/NEL (49SNOWTAILLIGHT09WIDE)
ELECTRICAL, WIRE HARNESSES - S15PU6NSL/NEL (49SNOWHARNESS11WIDE)
ENGINE, AIR INTAKE SYSTEM - S15PU6NSL/NEL (49SNOWAIR10600WIDE)
ENGINE, COOLING SYSTEM - S15PU6NSL/NEL (49SNOWCOOLING13WIDE)
ENGINE, CRANKCASE - S15PU6NSL/NEL (49SNOWCRANKCASE10600IQ)
ENGINE, CYLINDER - S15PU6NSL/NEL (49SNOWCYLINDER09600TRG)
ENGINE, EXHAUST - S15PU6NSL/NEL (49SNOWEXHAUST10600WIDE)
ENGINE, EXHAUST VALVES and SOLENOID - S15PU6NSL/NEL (49SNOWEXHAUSTVALVES12WIDE)
ENGINE, MOUNTING & SHORT BLOCK - S15PU6NSL/NEL (49SNOWENGINEMOUNT12WIDE)
ENGINE, OIL BOTTLE - S15PU6NSL/NEL (49SNOWOILBOTTLE13600WIDE)
ENGINE, OIL PUMP and LINES - S15PU6NSL/NEL (49SNOWOILPUMP10600TRG)
ENGINE, PISTON and CRANKSHAFT - S15PU6NSL/NEL (49SNOWPISTONCRANKSHAFT09600TRG)
ENGINE, REED VALVE and THROTTLE BODY ADAPTOR - S15PU6NSL/NEL (49SNOWCARBURETOR09600TRG)
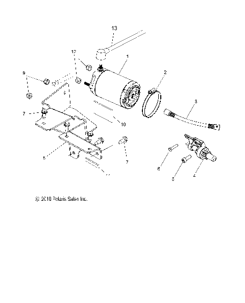
ENGINE, STARTER MOTOR - S15PU6NSL/NEL (49SNOWSTARTER11WIDE)
ENGINE, THROTTLE CONTROL ASM. - S15PU6NSL/NEL (49SNOWTHROTTLE10600WIDE)
ENGINE, WATER PUMP - S15PU6NSL/NEL (49SNOWWATERPUMP09600TRG)
FUEL SYSTEM, FUEL TANK ASM. - S15PU6NSL/NEL (49SNOWFUEL10600WIDE)
FUEL SYSTEM, RAIL, LINES and THROTTLE BODY - S15PU6NSL/NEL (49SNOWFUELLINE11WIDE)
STEERING, DRAG LINK - S15PU6NSL/NEL (49SNOWSTEERINGDRGLK10WIDE)
STEERING, HANDLEBAR MOUNTING - S15PU6NSL/NEL (49SNOWHANDLEBAR10600WIDE)
STEERING, SKI ASM. - S15PU6NSL/NEL (49SNOWSKIASM10600WIDE)
STEERING, STEERING POST ASM. and STEERING HOOP - S15PU6NSL/NEL (49SNOWSTEERINGPOST12WIDE)
STEERING, TIE ROD ASM. - S15PU6NSL/NEL (49SNOWSTEERINGLWR10WIDE)
SUSPENSION, FRONT - S15PU6NSL/NEL (49SNOWSUSPFRT10600WIDE)
SUSPENSION, RAILS - S15PU6NSL/NEL (49SNOWSUSPRAIL11WIDE)
SUSPENSION, REAR and TRACK - S15PU6NSL/NEL (49SNOWSUSPRR11WIDE)
SUSPENSION, SHOCK, FRONT TRACK (7043676) - S15PU6NSL/NEL (49SNOWSHOCKFRONT7043676)
SUSPENSION, SHOCK, IFS (7043289) - S15PU6NSL/NEL (49SNOWSHOCKIFS09WIDE)
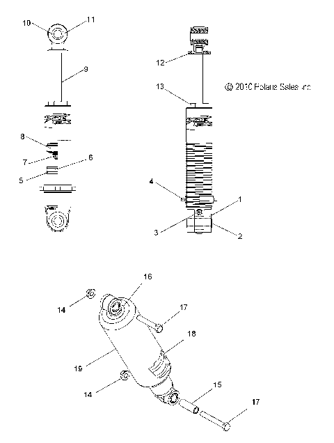
SUSPENSION, SHOCK, REAR TRACK (7043441) - S15PU6NSL/NEL (49SNOWSHOCKREAR7043441)
SUSPENSION, SWAY BAR - S15PU6NSL/NEL (49SNOWSWAYBAR10600WIDE)
SUSPENSION, TORQUE ARM, FRONT - S15PU6NSL/NEL (49SNOWFTA10WIDEIQ)
SUSPENSION, TORQUE ARM, REAR - S15PU6NSL/NEL (49SNOWTORQUEREAR10600WIDE)
TOOLS, TOOL KIT - S15PU6NSL/NEL (49SNOWTOOL11WIDE)
BODY, BACKREST AND GRABHANDLES - S15PU6NSL/NEL (49SNOWBACKREST13WIDE)
BODY, CONSOLE ASM. - S15PU6NSL/NEL (49SNOWCONSOLE10600WIDE)
BODY, DECALS - S15PU6NSL/NEL (49SNOWDECAL14WIDE)
BODY, FENDER ASM., LH/RH - S15PU6NSL/NEL (49SNOWFENDERS11WIDE)
BODY, FRONT BUMPER MOUNTING - S15PU6NSL/NEL (49SNOWBUMPER10600WIDE)
BODY, HOOD ASM. - S15PU6NSL/NEL (49SNOWHOOD12WIDE)
BODY, HOOD, FOAM and FOIL - S15PU6NSL/NEL (49SNOWHOODSCFL10600WIDE)
BODY, HOOD, FRONT HINGE ASM. - S15PU6NSL/NEL (49SNOWHOODMTG10600WIDE)
BODY, NOSEPAN and TIE ROD BOOT - S15PU6NSL/NEL (49SNOWNOSEPAN10WIDE)
BODY, REAR RACK and SNOWFLAP - S15PU6NSL/NEL (49SNOWRACK10WIDE)
BODY, SEAT ASM. - S15PU6NSL/NEL (49SNOWSEAT10WIDE)
BODY, SEAT RISER ASM. - S15PU6NSL/NEL (49SNOWRISER11WIDE)
BODY, SIDE PANELS - S15PU6NSL/NEL (49SNOWPANEL10600WIDE)
BODY, WINDSHIELD and MIRRORS - S15PU6NSL/NEL (49SNOWWINDSHLD09WIDE)
BRAKES, BRAKE CALIPER and DISC - S15PU6NSL/NEL (49SNOWBRAKE10600WIDE)
CHASSIS, CHASSIS ASM., and FOOTWELL ASM., LH/RH - S15PU6NSL/NEL (49SNOWCHASSISFRT10600WIDE)
CHASSIS, CLUTCH GUARD ASM. - S15PU6NSL/NEL (49SNOWCLUTCHGUARD13WIDE)
CHASSIS, FRONT, BRACKETS and PLATES - S15PU6NSL/NEL (49SNOWCHASSIS11WIDE)
CHASSIS, SHOCK TOWERS - S15PU6NSL/NEL (49SNOWTOWER10600WIDE)
DRIVE TRAIN, CLUTCH, PRIMARY - S15PU6NSL/NEL (49SNOWDRIVECLUTCH09600TRG)
DRIVE TRAIN, CLUTCH, SECONDARY - S15PU6NSL/NEL (49SNOWDRIVENCLUTCH15IQWIDE)
DRIVE TRAIN, DRIVESHAFT ASM. and JACKSHAFT ASM. - S15PU6NSL/NEL (49SNOWDRIVETRAIN10WIDE)
DRIVE TRAIN, GEARCASE (1 of 2) - S15PU6NSL/NEL (49SNOWGEARCASE10600WIDE1)
DRIVE TRAIN, GEARCASE (2 of 2) - S15PU6NSL/NEL (49SNOWGEARCASE10600WIDE2)
DRIVE TRAIN, GEARCASE MOUNTING - S15PU6NSL/NEL (49SNOWGEARCASEMTG10600WIDE)
DRIVE TRAIN, SHIFT LINKAGE - S15PU6NSL/NEL (49SNOWSHIFT11WIDE)
ELECTRICAL, BATTERY - S15PU6NSL/NEL (49SNOWBATTERY11WIDE)
ELECTRICAL, HEADLIGHT - S15PU6NSL/NEL (49SNOWHEADLGHT11WIDE)
ELECTRICAL, IGNITION SYSTEM - S15PU6NSL/NEL (49SNOWMAGNETO11WIDE)
ELECTRICAL, MULTI FUNCTION GAUGE - S15PU6NSL/NEL (49SNOWGAUGE09WIDE)
ELECTRICAL, SENSORS and ELECTRICAL COMPONENTS - S15PU6NSL/NEL (49SNOWSENSOR11WIDE)
ELECTRICAL, TAILLIGHT ASM. - S15PU6NSL/NEL (49SNOWTAILLIGHT09WIDE)
ELECTRICAL, WIRE HARNESSES - S15PU6NSL/NEL (49SNOWHARNESS11WIDE)
ENGINE, AIR INTAKE SYSTEM - S15PU6NSL/NEL (49SNOWAIR10600WIDE)
ENGINE, COOLING SYSTEM - S15PU6NSL/NEL (49SNOWCOOLING13WIDE)
ENGINE, CRANKCASE - S15PU6NSL/NEL (49SNOWCRANKCASE10600IQ)
ENGINE, CYLINDER - S15PU6NSL/NEL (49SNOWCYLINDER09600TRG)
ENGINE, EXHAUST - S15PU6NSL/NEL (49SNOWEXHAUST10600WIDE)
ENGINE, EXHAUST VALVES and SOLENOID - S15PU6NSL/NEL (49SNOWEXHAUSTVALVES12WIDE)
ENGINE, MOUNTING & SHORT BLOCK - S15PU6NSL/NEL (49SNOWENGINEMOUNT12WIDE)
ENGINE, OIL BOTTLE - S15PU6NSL/NEL (49SNOWOILBOTTLE13600WIDE)
ENGINE, OIL PUMP and LINES - S15PU6NSL/NEL (49SNOWOILPUMP10600TRG)
ENGINE, PISTON and CRANKSHAFT - S15PU6NSL/NEL (49SNOWPISTONCRANKSHAFT09600TRG)
ENGINE, REED VALVE and THROTTLE BODY ADAPTOR - S15PU6NSL/NEL (49SNOWCARBURETOR09600TRG)
ENGINE, STARTER MOTOR - S15PU6NSL/NEL (49SNOWSTARTER11WIDE)
ENGINE, THROTTLE CONTROL ASM. - S15PU6NSL/NEL (49SNOWTHROTTLE10600WIDE)
ENGINE, WATER PUMP - S15PU6NSL/NEL (49SNOWWATERPUMP09600TRG)
FUEL SYSTEM, FUEL TANK ASM. - S15PU6NSL/NEL (49SNOWFUEL10600WIDE)
FUEL SYSTEM, RAIL, LINES and THROTTLE BODY - S15PU6NSL/NEL (49SNOWFUELLINE11WIDE)
STEERING, DRAG LINK - S15PU6NSL/NEL (49SNOWSTEERINGDRGLK10WIDE)
STEERING, HANDLEBAR MOUNTING - S15PU6NSL/NEL (49SNOWHANDLEBAR10600WIDE)
STEERING, SKI ASM. - S15PU6NSL/NEL (49SNOWSKIASM10600WIDE)
STEERING, STEERING POST ASM. and STEERING HOOP - S15PU6NSL/NEL (49SNOWSTEERINGPOST12WIDE)
STEERING, TIE ROD ASM. - S15PU6NSL/NEL (49SNOWSTEERINGLWR10WIDE)
SUSPENSION, FRONT - S15PU6NSL/NEL (49SNOWSUSPFRT10600WIDE)
SUSPENSION, RAILS - S15PU6NSL/NEL (49SNOWSUSPRAIL11WIDE)
SUSPENSION, REAR and TRACK - S15PU6NSL/NEL (49SNOWSUSPRR11WIDE)
SUSPENSION, SHOCK, FRONT TRACK (7043676) - S15PU6NSL/NEL (49SNOWSHOCKFRONT7043676)
SUSPENSION, SHOCK, IFS (7043289) - S15PU6NSL/NEL (49SNOWSHOCKIFS09WIDE)
SUSPENSION, SHOCK, REAR TRACK (7043441) - S15PU6NSL/NEL (49SNOWSHOCKREAR7043441)
SUSPENSION, SWAY BAR - S15PU6NSL/NEL (49SNOWSWAYBAR10600WIDE)
SUSPENSION, TORQUE ARM, FRONT - S15PU6NSL/NEL (49SNOWFTA10WIDEIQ)
SUSPENSION, TORQUE ARM, REAR - S15PU6NSL/NEL (49SNOWTORQUEREAR10600WIDE)
TOOLS, TOOL KIT - S15PU6NSL/NEL (49SNOWTOOL11WIDE)
View Cart
VIEW WISH LIST