Polaris
Browse New Models
Shop In-Stock
Can-Am
Browse New Models
Shop In-Stock
Ski-Doo
Browse New Models
Shop In-Stock
Sea-Doo
Browse New Models
Shop In-Stock
Kayo
Browse New Models
Shop In-Stock
Manitou
Browse New Models
Shop In-Stock
Our
Location
Call
Us
Contact
Us
Toggle navigation
Home
Brands
Showroom
Manufacturer Models
OEM Promotions
Polaris Off-Road
Polaris Snowmobiles
Can-Am
Sea-Doo
Ski-Doo
Kayo
Yamaha Marine
Triton Trailers
Manitou
Nitro Trailers
CAM Superline
Durabull Trailers
Trifecta Pontoons
Inventory
All Inventory In Stock
New Inventory In Stock
Pre-Owned Inventory
Value Your Trade-In
Request a Model
Financing
Parts
Parts Department
OEM Parts Finder
Service
Service Department
Request Polaris Service
Warranty & Recall Look-Up
Financing
About
Our Dealership
Our Team
Reviews
Customer Survey
Newsletter Sign-Up
Employment
Events
Location & Hours
Contact
Call Us
Fort Kent, ME
Fiche | Parts Diagrams
2021 Polaris Snowmobiles
Home
›
Parts
›
OEM Parts Finder
Search by :
Part / Desc
VIN
Please Select
Can-Am
LYNX
Polaris
Sea-Doo
Ski-Doo
Yamaha
*Please enter at least 3 characters
SEARCH
Manufacturer
Polaris
Snowmobiles
2021
850 AXYS SWITCHBACK ASSAULT 144 ALL OPTIONS (S21EEC8RS)
View Cart
VIEW WISH LIST
Select a Section
Show/Hide
BODY, BUMPER, FRONT - S21EEC8RS ALL OPTIONS (C600798)
BODY, BUMPER, REAR, SNOWFLAP and TAILLIGHT COVER - S21EEC8RS (600887C)
BODY, CONSOLE - S21EEC8RS (C600799)
BODY, DECAL, BLACK SIDE PANEL W/BLK, TITNM ACCENT - S21EEC8RS (601562)
BODY, DECAL, BLACK SIDE PANEL W/RED ACCENT - S21EEC8RS (601562)
BODY, DECAL, GRAY SIDE PANEL W/POL BLUE ACCENT - S21EEC8RS (601562)
BODY, DECAL, RED SIDE PANEL W/LIME SQZE ACCENT - S21EEC8RS (601562)
BODY, DECAL, WHITE SIDE PANEL W/PLUM ACCENT - S21EEC8RS (601562)
BODY, FENDERS AND NOSEPAN ASM. - S21EEC8RS ALL OPTIONS (600803)
BODY, HOOD ASM. - S21EEC8RS ALL OPTIONS (600592C)
BODY, HOOD FOAM/FIBER - S21EEC8RS (600604C)
BODY, SEAT - S21EEC8RS ALL OPTIONS (C600833)
BODY, SIDE PANELS - S21EEC8RS ALL OPTIONS (600835)
BODY, WINDSHIELD - S21EEC8RS ALL OPTIONS (C600834)
BRAKES, BRAKE SYSTEM - S21EEC8RS ALL OPTIONS (600943)
BRAKES, MASTER CYLINDER ASM. - S21EEC8RS ALL OPTIONS (600942C)
CHASSIS, BULKHEAD ASM. - S21EEC8RS ALL OPTIONS (600976C)
CHASSIS, CHASSIS ASM. and OVER STRUCTURE - S21EEC8RS ALL OPTIONS (C601352)
CHASSIS, CLUTCH GUARD, FOOTRESTS, and RUNNINGBOARDS - S21EEC8RS ALL OPTIONS (C601176)
CHASSIS, TIE ROD BOOT ASM. - S21EEC8RS (C601154)
DRIVE TRAIN, CHAINCASE - S21EEC8R ALL OPTIONS (600552)
DRIVE TRAIN, CLUTCH, PRIMARY - S21EEC8RS ALL OPTIONS (C601717)
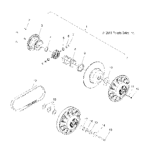
DRIVE TRAIN, CLUTCH, SECONDARY - S21EEC8RS ALL OPTIONS (49SNOWDRIVENCLUTCH1322948)
DRIVE TRAIN, JACKSHAFT and DRIVESHAFT - S21EEC8RS ALL OPTIONS (601073C)
ELECTRICAL, BATTERY/BOX and CABLES - S21EEC8RS E.S. OPTION (601062C)
ELECTRICAL, HEADLIGHT and TAILLIGHT - S21EEC8RS ALL OPTIONS (600946C)
ELECTRICAL, IGNITION COIL/SPARK PLUGS - S21EEC8RS ALL OPTIONS (600964C)
ELECTRICAL, IGNITION SYSTEM - S21EEC8RS ALL OPTIONS (600941
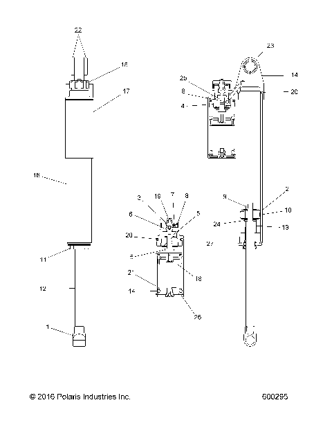
ELECTRICAL, JUMPERS/WIRE HARNESS - S21EEC8RS ALL OPTIONS (601563)
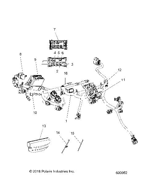
ELECTRICAL, MAIN WIRE HARNESS - S21EEC8RS ALL OPTIONS (600962)
ELECTRICAL, MULTI FUNCTION GAUGE - S21EEC8RS ALL OPTIONS (600947C)
ELECTRICAL, SWITCHES, SENSORS and COMPONENTS - S21EEC8RS (601637)
ENGINE, AIR INTAKE SYSTEM - S21EEC8RS ALL OPTIONS (600935C)
ENGINE, COOLING SYSTEM - S21EEC8RS ALL OPTIONS (600974C)
ENGINE, CRANKCASE - S21TDV8RS/8RE ALL OPTIONS (C601241)
ENGINE, CYLINDER/CYL. HEAD - S21TDV8RS/8RE ALL OPTIONS (600778-1)
ENGINE, EXHAUST - S21TDV8RS/8RE ALL OPTIONS (600958C)
ENGINE, EXHAUST VALVE ASM. - S21ELS8RS/8RE ALL OPTIONS (600778-3)
ENGINE, MOUNTING & LONG BLOCK - S21TDV8RS/8RE ALL OPTIONS (C600778-6)
ENGINE, OIL BOTTLE ASM. - S21ELS8RS/8RE ALL OPTIONS (600936C)
ENGINE, OIL PUMP ASM. - S21TDV8RS/8RE (600937C)
ENGINE, PISTON and CRANKSHAFT - S21EEC8RS ALL OPTIONS (C601781)
ENGINE, RECOIL STARTER - S21ELS8RS/8RE ALL OPTIONS (601014)
ENGINE, REED VALVE and THROTTLE BODY ADAPTOR - S21ELS8RS/8RE ALL OPTIONS (C600778-7)
ENGINE, STARTER MOTOR - S21TCL8RS/8RE ALL OPTIONS (600965C)
ENGINE, THROTTLE CONTROL ASM. - S21EEC8RS ALL OPTIONS (601566)
ENGINE, WATER PUMP - S21TDV8RS/8RE ALL OPTIONS (C601545)
FUEL SYSTEM, FUEL TANK ASM. - S21EEC8RS ALL OPTIONS (600938C)
FUEL SYSTEM, RAIL, LINES and THROTTLE BODY - S21EEC8RS ALL OPTIONS (600939C)
STEERING, HAND GUARDS - S21EEC8RS ALL OPTIONS (C601267)
STEERING, LOWER - S21EEC8RS (C601155)
STEERING, SKI ASM. - S21EEC8RS ALL OPTIONS (601087C)
STEERING, UPPER and HANDLEBAR ASM. - S21EEC8RS ALL OPTIONS (C601369)
SUSPENSION, CONTROL ARMS and SPINDLE - S21EEC8RS (C601157)
SUSPENSION, RAIL, LH/RH - S21EEC8RS ALL OPTIONS (C601161)
SUSPENSION, REAR - S21EEC8RS ALL OPTIONS (C601177)
SUSPENSION, SHOCK, FRONT TRACK (BLACK) - S21EEC8RS ALL OPTIONS (600342)
SUSPENSION, SHOCK, IFS - S21EEC8RS ALL OPTIONS (49SNOWSHOCKIFS7043731)
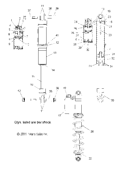
SUSPENSION, SHOCK, REAR TRACK - S21EEC8RS ALL OPTIONS (600295)
SUSPENSION, SWAY BAR - S21EEC8RS ALL OPTIONS (49SNOWSWAYBAR10PR)
SUSPENSION, TORQUE ARM, FRONT - S21EEC8RS ALL OPTIONS (C601178)
SUSPENSION, TORQUE ARM, REAR - S21EEC8RS ALL OPTIONS (600254)
TOOLS, BELT HOLDER, TOOLS, and OWNERS MANUAL - S21EEC8R ALL OPTIONS (600271)
BODY, BUMPER, FRONT - S21EEC8RS ALL OPTIONS (C600798)
BODY, BUMPER, REAR, SNOWFLAP and TAILLIGHT COVER - S21EEC8RS (600887C)
BODY, CONSOLE - S21EEC8RS (C600799)
BODY, DECAL, BLACK SIDE PANEL W/BLK, TITNM ACCENT - S21EEC8RS (601562)
BODY, DECAL, BLACK SIDE PANEL W/RED ACCENT - S21EEC8RS (601562)
BODY, DECAL, GRAY SIDE PANEL W/POL BLUE ACCENT - S21EEC8RS (601562)
BODY, DECAL, RED SIDE PANEL W/LIME SQZE ACCENT - S21EEC8RS (601562)
BODY, DECAL, WHITE SIDE PANEL W/PLUM ACCENT - S21EEC8RS (601562)
BODY, FENDERS AND NOSEPAN ASM. - S21EEC8RS ALL OPTIONS (600803)
BODY, HOOD ASM. - S21EEC8RS ALL OPTIONS (600592C)
BODY, HOOD FOAM/FIBER - S21EEC8RS (600604C)
BODY, SEAT - S21EEC8RS ALL OPTIONS (C600833)
BODY, SIDE PANELS - S21EEC8RS ALL OPTIONS (600835)
BODY, WINDSHIELD - S21EEC8RS ALL OPTIONS (C600834)
BRAKES, BRAKE SYSTEM - S21EEC8RS ALL OPTIONS (600943)
BRAKES, MASTER CYLINDER ASM. - S21EEC8RS ALL OPTIONS (600942C)
CHASSIS, BULKHEAD ASM. - S21EEC8RS ALL OPTIONS (600976C)
CHASSIS, CHASSIS ASM. and OVER STRUCTURE - S21EEC8RS ALL OPTIONS (C601352)
CHASSIS, CLUTCH GUARD, FOOTRESTS, and RUNNINGBOARDS - S21EEC8RS ALL OPTIONS (C601176)
CHASSIS, TIE ROD BOOT ASM. - S21EEC8RS (C601154)
DRIVE TRAIN, CHAINCASE - S21EEC8R ALL OPTIONS (600552)
DRIVE TRAIN, CLUTCH, PRIMARY - S21EEC8RS ALL OPTIONS (C601717)
DRIVE TRAIN, CLUTCH, SECONDARY - S21EEC8RS ALL OPTIONS (49SNOWDRIVENCLUTCH1322948)
DRIVE TRAIN, JACKSHAFT and DRIVESHAFT - S21EEC8RS ALL OPTIONS (601073C)
ELECTRICAL, BATTERY/BOX and CABLES - S21EEC8RS E.S. OPTION (601062C)
ELECTRICAL, HEADLIGHT and TAILLIGHT - S21EEC8RS ALL OPTIONS (600946C)
ELECTRICAL, IGNITION COIL/SPARK PLUGS - S21EEC8RS ALL OPTIONS (600964C)
ELECTRICAL, IGNITION SYSTEM - S21EEC8RS ALL OPTIONS (600941
ELECTRICAL, JUMPERS/WIRE HARNESS - S21EEC8RS ALL OPTIONS (601563)
ELECTRICAL, MAIN WIRE HARNESS - S21EEC8RS ALL OPTIONS (600962)
ELECTRICAL, MULTI FUNCTION GAUGE - S21EEC8RS ALL OPTIONS (600947C)
ELECTRICAL, SWITCHES, SENSORS and COMPONENTS - S21EEC8RS (601637)
ENGINE, AIR INTAKE SYSTEM - S21EEC8RS ALL OPTIONS (600935C)
ENGINE, COOLING SYSTEM - S21EEC8RS ALL OPTIONS (600974C)
ENGINE, CRANKCASE - S21TDV8RS/8RE ALL OPTIONS (C601241)
ENGINE, CYLINDER/CYL. HEAD - S21TDV8RS/8RE ALL OPTIONS (600778-1)
ENGINE, EXHAUST - S21TDV8RS/8RE ALL OPTIONS (600958C)
ENGINE, EXHAUST VALVE ASM. - S21ELS8RS/8RE ALL OPTIONS (600778-3)
ENGINE, MOUNTING & LONG BLOCK - S21TDV8RS/8RE ALL OPTIONS (C600778-6)
ENGINE, OIL BOTTLE ASM. - S21ELS8RS/8RE ALL OPTIONS (600936C)
ENGINE, OIL PUMP ASM. - S21TDV8RS/8RE (600937C)
ENGINE, PISTON and CRANKSHAFT - S21EEC8RS ALL OPTIONS (C601781)
ENGINE, RECOIL STARTER - S21ELS8RS/8RE ALL OPTIONS (601014)
ENGINE, REED VALVE and THROTTLE BODY ADAPTOR - S21ELS8RS/8RE ALL OPTIONS (C600778-7)
ENGINE, STARTER MOTOR - S21TCL8RS/8RE ALL OPTIONS (600965C)
ENGINE, THROTTLE CONTROL ASM. - S21EEC8RS ALL OPTIONS (601566)
ENGINE, WATER PUMP - S21TDV8RS/8RE ALL OPTIONS (C601545)
FUEL SYSTEM, FUEL TANK ASM. - S21EEC8RS ALL OPTIONS (600938C)
FUEL SYSTEM, RAIL, LINES and THROTTLE BODY - S21EEC8RS ALL OPTIONS (600939C)
STEERING, HAND GUARDS - S21EEC8RS ALL OPTIONS (C601267)
STEERING, LOWER - S21EEC8RS (C601155)
STEERING, SKI ASM. - S21EEC8RS ALL OPTIONS (601087C)
STEERING, UPPER and HANDLEBAR ASM. - S21EEC8RS ALL OPTIONS (C601369)
SUSPENSION, CONTROL ARMS and SPINDLE - S21EEC8RS (C601157)
SUSPENSION, RAIL, LH/RH - S21EEC8RS ALL OPTIONS (C601161)
SUSPENSION, REAR - S21EEC8RS ALL OPTIONS (C601177)
SUSPENSION, SHOCK, FRONT TRACK (BLACK) - S21EEC8RS ALL OPTIONS (600342)
SUSPENSION, SHOCK, IFS - S21EEC8RS ALL OPTIONS (49SNOWSHOCKIFS7043731)
SUSPENSION, SHOCK, REAR TRACK - S21EEC8RS ALL OPTIONS (600295)
SUSPENSION, SWAY BAR - S21EEC8RS ALL OPTIONS (49SNOWSWAYBAR10PR)
SUSPENSION, TORQUE ARM, FRONT - S21EEC8RS ALL OPTIONS (C601178)
SUSPENSION, TORQUE ARM, REAR - S21EEC8RS ALL OPTIONS (600254)
TOOLS, BELT HOLDER, TOOLS, and OWNERS MANUAL - S21EEC8R ALL OPTIONS (600271)
View Cart
VIEW WISH LIST