Polaris
Browse New Models
Shop In-Stock
Can-Am
Browse New Models
Shop In-Stock
Ski-Doo
Browse New Models
Shop In-Stock
Sea-Doo
Browse New Models
Shop In-Stock
Kayo
Browse New Models
Shop In-Stock
Manitou
Browse New Models
Shop In-Stock
Our
Location
Call
Us
Contact
Us
Toggle navigation
Home
Brands
Showroom
Manufacturer Models
OEM Promotions
Polaris Off-Road
Polaris Snowmobiles
Can-Am
Sea-Doo
Ski-Doo
Kayo
Yamaha Marine
Triton Trailers
Manitou
Nitro Trailers
CAM Superline
Durabull Trailers
Trifecta Pontoons
Inventory
All Inventory In Stock
New Inventory In Stock
Pre-Owned Inventory
Value Your Trade-In
Request a Model
Financing
Parts
Parts Department
OEM Parts Finder
Service
Service Department
Request Polaris Service
Warranty & Recall Look-Up
Financing
About
Our Dealership
Our Team
Reviews
Customer Survey
Newsletter Sign-Up
Employment
Events
Location & Hours
Contact
Call Us
Fort Kent, ME
Fiche | Parts Diagrams
2007 Polaris Utility Vehicles
Home
›
Parts
›
OEM Parts Finder
Search by :
Part / Desc
VIN
Please Select
Can-Am
LYNX
Polaris
Sea-Doo
Ski-Doo
Yamaha
*Please enter at least 3 characters
SEARCH
Manufacturer
Polaris
Utility Vehicles
2007
RANGER 500 2X4/4X4 (R07RB50AA/RH50AA)
View Cart
VIEW WISH LIST
Select a Section
Show/Hide
A-ARM/STRUT MOUNTING - R07RB50AA/RH50AA (49RGRAARM07500)
AIR BOX - R07RB50AA/RH50AA (49RGRAIRBOX07500)
AIR INTAKE, ENGINE and CLUTCH - R07RB50AA/RH50AA (4999203249920324C14)
ASM., BOX - R07RB50AA/RH50AA (4999203249920324A11)
BOX MOUNTING - R07RB50AA/RH50AA (4999203249920324A10)
BRAKE CALIPER, FRONT - R07RB50AA/RH50AA (4999203249920324C05)
BRAKE CALIPER, REAR - R07RB50AA/RH50AA (4998269826C04)
BRAKE LINES/MASTER CYLINDER - R07RB50AA/RH50AA (49RGRBRAKELINES07500)
BRAKE, FOOT - R07RB50AA/RH50AA (49RGRBRAKEFOOT07500)
BRAKE, PARK (BUILT AFTER 1/15/07) - R07RB50AA/RH50AA (49RGRBRAKEPARK07700EFI)
BRAKE, PARK (BUILT BEFORE 1/15/07) - R07RB50AA/RH50AA (4999202119920211C07)
BRAKE, PARK, PEDAL - R07RB50AA/RH50AA (4999202119920211C06)
CHASSIS/BODY - R07RB50AA/RH50AA (49RGRCHASSIS07500)
CLUTCH, COVER - R07RB50AA/RH50AA (4999202119920211D01)
CLUTCH, DRIVE - R07RB50AA/RH50AA (4999203249920324C11)
CLUTCH, DRIVEN - R07RB50AA/RH50AA (4999202119920211C12)
COOLING SYSTEM - R07RB50AA/RH50AA (49RGRCOOL07500)
DASH INSTRUMENTS and CONTROLS - R07RB50AA/RH50AA (49RGRDASH07500)
DECALS - R07RB50AA/RH50AA (49RGRDECAL07500)
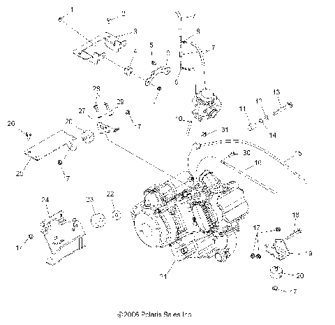
ELECTRICAL/BATTERY - R07RB50AA/RH50AA (49RGRELECT07500)
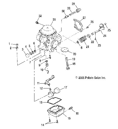
ENGINE, CARBURETOR - R07RB50AA/RH50AA (4999202119920211D11)
ENGINE, CRANKCASE - R07RB50AA/RH50AA (4999203249920324D09)
ENGINE, CRANKSHAFT and PISTON - R07RB50AA/RH50AA (4999202119920211D12)
ENGINE, CYLINDER - R07RB50AA/RH50AA (4999202119920211D10)
ENGINE, FLYWHEEL COVER - R07RB50AA/RH50AA (4999202119920211D14)
ENGINE, INTAKE and EXHAUST - R07RB50AA/RH50AA (4999202119920211D13)
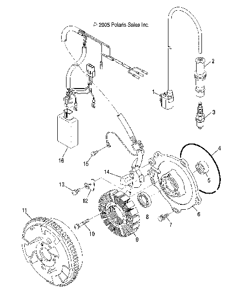
ENGINE, MAGNETO - R07RB50AA/RH50AA (4999202119920211E04)
ENGINE, MOUNTING - R07RB50AA/RH50AA (49RGRENGINEMTG07500)
ENGINE, OIL FILTER - R07RB50AA/RH50AA (4999202119920211E03)
ENGINE, OIL PUMP - R07RB50AA/RH50AA (4999202119920211E02)
ENGINE, OIL TANK - R07RB50AA/RH50AA (4999202119920211B02)
ENGINE, STARTING MOTOR - R07RB50AA/RH50AA (4999202119920211E05)
ENGINE, WATER PUMP - R07RB50AA/RH50AA (49RGRWATERPUMP07500)
EXHAUST SYSTEM - R07RB50AA/RH50AA (49RGREXHAUST07500)
FRAME, CAB - R07RB50AA/RH50AA (4999203249920324A03)
FUEL SYSTEM - R07RB50AA/RH50AA (49RGRFUEL07500)
GEAR SELECTOR - R07RB50AA/RH50AA (4999202119920211D07)
GEARCASE, FRONT - R07RB50AA/RH50AA (4995359535E02)
GEARCASE, MOUNTING, REAR (BUILT AFTER 1/15/07) - R07RB50AA/RH50AA (49RGRGEARCASEMTGRR077004X4)
GEARCASE, MOUNTING, REAR (BUILT BEFORE 1/15/07) - R07RB50AA/RH50AA (4999202119920211D08)
GEARCASE, REAR (BUILT AFTER 1/15/07) - R07RB50AA/RH50AA (49RGRGEARCASERR077004X4)
GEARCASE, REAR (BUILT BEFORE 1/15/07) - R07RB50AA/RH50AA (4999202119920211D02)
HOOD - R07RB50AA/RH50AA (49RGRHOOD07500)
MOLDINGS - R07RB50AA/RH50AA (49RGRMOLDINGS07500)
SEAT/SEAT BASE - R07RB50AA/RH50AA (4999203249920324A04)
SHAFT, DRIVE, FRONT (4X4) - R07RH50AA (4999202119920211B07)
SHAFT, DRIVE, REAR LH, RH - R07RB50AA/RH50AA (4999202119920211B08)
SHAFT, PROP, FRONT (4X4) - R07RH50AA (4999202119920211B10)
SHAFT, PROP, REAR - R07RB50AA/RH50AA (49RGRSHAFTPROPRR07500)
STABILIZER BAR, REAR - R07RB50AA/RH50AA (4999202119920211C10)
STEERING - R07RB50AA/RH50AA (49RGRSTEERING07500)
STRUT, FRONT - R07RB50AA/RH50AA (49RGRSTRUTFRT07500)
SUSPENSION, REAR - R07RB50AA/RH50AA (4999203249920324C09)
TAILGATE - R07RB50AA/RH50AA (4999203249920324A12)
THROTTLE - R07RB50AA/RH50AA (4999202119920211C01)
TOOL KIT - R07RB50AA/RH50AA (4999202119920211E06)
TRANSMISSION - R07RB50AA/RH50AA (4999202119920211D04)
TRANSMISSION, INTERNAL - R07RB50AA (4999203249920324D05)
TRANSMISSION, INTERNAL - R07RH50AA (49RGRTRANSINTL08)
TRANSMISSION, MOUNTING - R07RB50AA/RH50AA (4999202119920211B05)
TRANSMISSION, OUTPUT SHAFT - R07RB50AA (49RGRTRANSOTPT07MLTY)
TRANSMISSION, OUTPUT SHAFT - R07RH50AA (4999202219920221D06)
WHEEL, FRONT - R07RB50AA/RH50AA (4999202119920211B12)
WHEEL, REAR - R07RB50AA/RH50AA (49RGRWHEELRR07500)
A-ARM/STRUT MOUNTING - R07RB50AA/RH50AA (49RGRAARM07500)
AIR BOX - R07RB50AA/RH50AA (49RGRAIRBOX07500)
AIR INTAKE, ENGINE and CLUTCH - R07RB50AA/RH50AA (4999203249920324C14)
ASM., BOX - R07RB50AA/RH50AA (4999203249920324A11)
BOX MOUNTING - R07RB50AA/RH50AA (4999203249920324A10)
BRAKE CALIPER, FRONT - R07RB50AA/RH50AA (4999203249920324C05)
BRAKE CALIPER, REAR - R07RB50AA/RH50AA (4998269826C04)
BRAKE LINES/MASTER CYLINDER - R07RB50AA/RH50AA (49RGRBRAKELINES07500)
BRAKE, FOOT - R07RB50AA/RH50AA (49RGRBRAKEFOOT07500)
BRAKE, PARK (BUILT AFTER 1/15/07) - R07RB50AA/RH50AA (49RGRBRAKEPARK07700EFI)
BRAKE, PARK (BUILT BEFORE 1/15/07) - R07RB50AA/RH50AA (4999202119920211C07)
BRAKE, PARK, PEDAL - R07RB50AA/RH50AA (4999202119920211C06)
CHASSIS/BODY - R07RB50AA/RH50AA (49RGRCHASSIS07500)
CLUTCH, COVER - R07RB50AA/RH50AA (4999202119920211D01)
CLUTCH, DRIVE - R07RB50AA/RH50AA (4999203249920324C11)
CLUTCH, DRIVEN - R07RB50AA/RH50AA (4999202119920211C12)
COOLING SYSTEM - R07RB50AA/RH50AA (49RGRCOOL07500)
DASH INSTRUMENTS and CONTROLS - R07RB50AA/RH50AA (49RGRDASH07500)
DECALS - R07RB50AA/RH50AA (49RGRDECAL07500)
ELECTRICAL/BATTERY - R07RB50AA/RH50AA (49RGRELECT07500)
ENGINE, CARBURETOR - R07RB50AA/RH50AA (4999202119920211D11)
ENGINE, CRANKCASE - R07RB50AA/RH50AA (4999203249920324D09)
ENGINE, CRANKSHAFT and PISTON - R07RB50AA/RH50AA (4999202119920211D12)
ENGINE, CYLINDER - R07RB50AA/RH50AA (4999202119920211D10)
ENGINE, FLYWHEEL COVER - R07RB50AA/RH50AA (4999202119920211D14)
ENGINE, INTAKE and EXHAUST - R07RB50AA/RH50AA (4999202119920211D13)
ENGINE, MAGNETO - R07RB50AA/RH50AA (4999202119920211E04)
ENGINE, MOUNTING - R07RB50AA/RH50AA (49RGRENGINEMTG07500)
ENGINE, OIL FILTER - R07RB50AA/RH50AA (4999202119920211E03)
ENGINE, OIL PUMP - R07RB50AA/RH50AA (4999202119920211E02)
ENGINE, OIL TANK - R07RB50AA/RH50AA (4999202119920211B02)
ENGINE, STARTING MOTOR - R07RB50AA/RH50AA (4999202119920211E05)
ENGINE, WATER PUMP - R07RB50AA/RH50AA (49RGRWATERPUMP07500)
EXHAUST SYSTEM - R07RB50AA/RH50AA (49RGREXHAUST07500)
FRAME, CAB - R07RB50AA/RH50AA (4999203249920324A03)
FUEL SYSTEM - R07RB50AA/RH50AA (49RGRFUEL07500)
GEAR SELECTOR - R07RB50AA/RH50AA (4999202119920211D07)
GEARCASE, FRONT - R07RB50AA/RH50AA (4995359535E02)
GEARCASE, MOUNTING, REAR (BUILT AFTER 1/15/07) - R07RB50AA/RH50AA (49RGRGEARCASEMTGRR077004X4)
GEARCASE, MOUNTING, REAR (BUILT BEFORE 1/15/07) - R07RB50AA/RH50AA (4999202119920211D08)
GEARCASE, REAR (BUILT AFTER 1/15/07) - R07RB50AA/RH50AA (49RGRGEARCASERR077004X4)
GEARCASE, REAR (BUILT BEFORE 1/15/07) - R07RB50AA/RH50AA (4999202119920211D02)
HOOD - R07RB50AA/RH50AA (49RGRHOOD07500)
MOLDINGS - R07RB50AA/RH50AA (49RGRMOLDINGS07500)
SEAT/SEAT BASE - R07RB50AA/RH50AA (4999203249920324A04)
SHAFT, DRIVE, FRONT (4X4) - R07RH50AA (4999202119920211B07)
SHAFT, DRIVE, REAR LH, RH - R07RB50AA/RH50AA (4999202119920211B08)
SHAFT, PROP, FRONT (4X4) - R07RH50AA (4999202119920211B10)
SHAFT, PROP, REAR - R07RB50AA/RH50AA (49RGRSHAFTPROPRR07500)
STABILIZER BAR, REAR - R07RB50AA/RH50AA (4999202119920211C10)
STEERING - R07RB50AA/RH50AA (49RGRSTEERING07500)
STRUT, FRONT - R07RB50AA/RH50AA (49RGRSTRUTFRT07500)
SUSPENSION, REAR - R07RB50AA/RH50AA (4999203249920324C09)
TAILGATE - R07RB50AA/RH50AA (4999203249920324A12)
THROTTLE - R07RB50AA/RH50AA (4999202119920211C01)
TOOL KIT - R07RB50AA/RH50AA (4999202119920211E06)
TRANSMISSION - R07RB50AA/RH50AA (4999202119920211D04)
TRANSMISSION, INTERNAL - R07RB50AA (4999203249920324D05)
TRANSMISSION, INTERNAL - R07RH50AA (49RGRTRANSINTL08)
TRANSMISSION, MOUNTING - R07RB50AA/RH50AA (4999202119920211B05)
TRANSMISSION, OUTPUT SHAFT - R07RB50AA (49RGRTRANSOTPT07MLTY)
TRANSMISSION, OUTPUT SHAFT - R07RH50AA (4999202219920221D06)
WHEEL, FRONT - R07RB50AA/RH50AA (4999202119920211B12)
WHEEL, REAR - R07RB50AA/RH50AA (49RGRWHEELRR07500)
View Cart
VIEW WISH LIST