Polaris
Browse New Models
Shop In-Stock
Can-Am
Browse New Models
Shop In-Stock
Ski-Doo
Browse New Models
Shop In-Stock
Sea-Doo
Browse New Models
Shop In-Stock
Kayo
Browse New Models
Shop In-Stock
Manitou
Browse New Models
Shop In-Stock
Our
Location
Call
Us
Contact
Us
Toggle navigation
Home
Brands
Showroom
Manufacturer Models
OEM Promotions
Polaris Off-Road
Polaris Snowmobiles
Can-Am
Sea-Doo
Ski-Doo
Kayo
Yamaha Marine
Triton Trailers
Manitou
Nitro Trailers
CAM Superline
Durabull Trailers
Trifecta Pontoons
Inventory
All Inventory In Stock
New Inventory In Stock
Pre-Owned Inventory
Value Your Trade-In
Request a Model
Financing
Parts
Parts Department
OEM Parts Finder
Service
Service Department
Request Polaris Service
Warranty & Recall Look-Up
Financing
About
Our Dealership
Our Team
Reviews
Customer Survey
Newsletter Sign-Up
Employment
Events
Location & Hours
Contact
Call Us
Fort Kent, ME
Fiche | Parts Diagrams
2009 Polaris Utility Vehicles
Home
›
Parts
›
OEM Parts Finder
Search by :
Part / Desc
VIN
Please Select
Can-Am
LYNX
Polaris
Sea-Doo
Ski-Doo
Yamaha
*Please enter at least 3 characters
SEARCH
Manufacturer
Polaris
Utility Vehicles
2009
RANGER 2X4 500 CARB (R09RB50AF)
View Cart
VIEW WISH LIST
Select a Section
Show/Hide
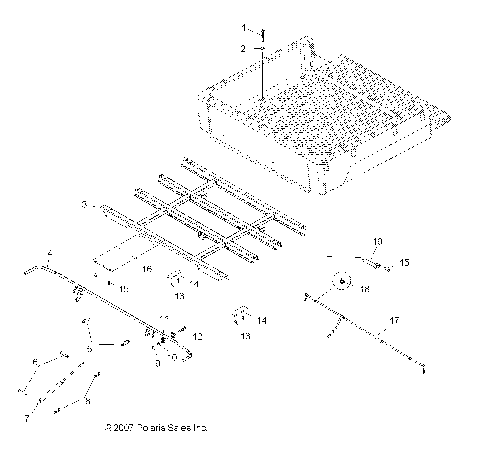
BODY, BOX ASM. - R09RB50AF (49RGRBOX097006X6)
BODY, BOX MOUNTING - R09RB50AF (49RGRBOXMOUNTING097006X6)
BODY, DECALS - R09RB50AF (49RGRDECAL082X4)
BODY, FLOOR and FENDERS - R09RB50AF (49RGRMOLDINGS095002X4)
BODY, FUEL SYSTEM - R09RB50AF (49RGRFUEL095002X4)
BODY, HOOD and DASHBOARD - R09RB50AF (49RGRHOOD097006X6)
BODY, SEAT and BASE - R09RB50AF (4999203249920324A04)
BODY, TAILGATE ASM. - R09RB50AF (4999203249920324A12)
BRAKES, FRONT CALIPER - R09RB50AF (49RGRCALIPER08500EFI)
BRAKES, LINES and MASTER CYLINDER - R09RB50AF (49RGRBRAKELINES08500EFI)
BRAKES, PARK BRAKE ASM. - R09RB50AF (49RGRBRAKEPARK095002X4)
BRAKES, PEDAL and MASTER CYLINDER MOUNTING - R09RB50AF (49RGRBRAKEFOOT08500EFI)
BRAKES, REAR CALIPER - R09RB50AF (4999203249920324C04)
CHASSIS, CAB FRAME - R09RB50AF (49RGRFRAME097006X6)
CHASSIS, FRAME and FRONT BUMPER - R09RB50AF (49RGRCHASSIS095002X4)
DRIVE TRAIN, CLUTCH COVER - R09RB50AF (4999202119920211D01)
DRIVE TRAIN, GEAR SELECTOR - R09RB50AF (4999202119920211D07)
DRIVE TRAIN, MAIN GEARCASE - R09RB50AF (49RGRGEARCASE097004X4)
DRIVE TRAIN, MAIN GEARCASE INTERNAL - R09RB50AF (49RGRTRANSINTL095002X4)
DRIVE TRAIN, MAIN GEARCASE MOUNTING - R09RB50AF (49RGRGEARCASEMTG082X4)
DRIVE TRAIN, MAIN GEARCASE OUTPUT SHAFT - R09RB50AF (49RGRTRANSOTPT082X4)
DRIVE TRAIN, PRIMARY CLUTCH - R09RB50AF (49RGRCLUTCHDRV08500EFI)
DRIVE TRAIN, REAR DRIVE SHAFT - R09RB50AF (49RGRSHAFTDRIVERR10CREW)
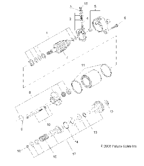
DRIVE TRAIN, REAR GEARCASE - R09RB50AF (49RGRGEARCASERR097004X4)
DRIVE TRAIN, REAR GEARCASE MOUNTING - R09RB50AF (49RGRGEARCASEMTGRR08500EFI)
DRIVE TRAIN, REAR PROP SHAFT - R09RB50AF (49RGRSHAFTPROPRR08500)
DRIVE TRAIN, SECONDARY CLUTCH - R09RB50AF (4999202119920211C12)
ELECTRICAL, BATTERY - R09RB50AF (49RGRBATTERY08500EFI)
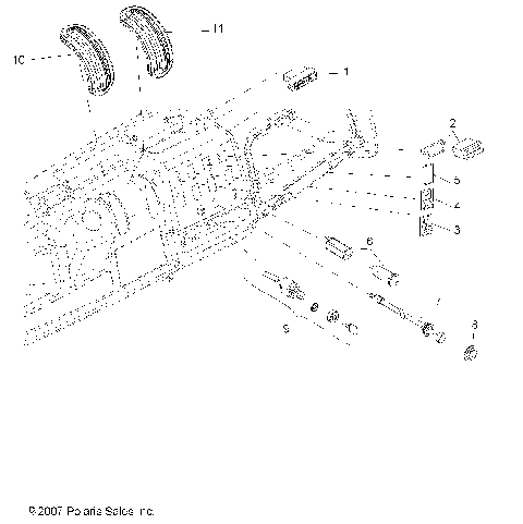
ELECTRICAL, DASH INSTRUMENTS and CONTROLS - R09RB50AF (49RGRDASH082X4)
ELECTRICAL, HEADLIGHTS, TAILLIGHTS and BULBS - R09RB50AF (49RGRTAILLAMPS097006X6)
ELECTRICAL, IGNITION SYSTEM - R09RB50AF (49ATV\MAGNETO\SCRAM)
ELECTRICAL, SWITCHES and ECM - R09RB50AF (49RGRELECT082X4)
ELECTRICAL, WIRE HARNESSES - R09RB50AF (49RGRHARNESS082X4)
ENGINE, AIR INTAKE SYSTEM - R09RB50AF (49RGRAIRBOX07500)
ENGINE, CAMSHAFT and VALVES - R09RB50AF (4999202119920211D13)
ENGINE, CARBURETOR, LOWER - R09RB50AF (49RGRCARBLWR095002X4)
ENGINE, CARBURETOR, UPPER - R09RB50AF (49RGRCARBUPPER095002X4)
ENGINE, CLUTCH AIR INTAKE - R09RB50AF (49RGRAIRINTAKE08500)
ENGINE, COOLING SYSTEM - R09RB50AF (49RGRCOOL08500EFI)
ENGINE, CRANKCASE - R09RB50AF (49ATVCRANKCASE09SP500)
ENGINE, CRANKSHAFT and PISTON - R09RB50AF (4999202119920211D12)
ENGINE, CYLINDER - R09RB50AF (4999202119920211D10)
ENGINE, EXHAUST - R09RB50AF (49RGREXHAUST095002X4)
ENGINE, FLYWHEEL COVER - R09RB50AF (49RGRFLYWHEELCVR095002X4)
ENGINE, MOUNTING - R09RB50AF (49RGRENGINEMTG082X4)
ENGINE, OIL FILTER - R09RB50AF (4999202119920211E03)
ENGINE, OIL PUMP - R09RB50AF (4999202119920211E02)
ENGINE, OIL TANK - R09RB50AF (49RGROILTANK095004X4)
ENGINE, STARTING MOTOR - R09RB50AF (49RGRSTARTINGMTR095004X4)
ENGINE, THROTTLE - R09RB50AF (4999202119920211C01)
ENGINE, WATER PUMP - R09RB50AF (49RGRWATERPUMP07500)
STEERING, STEERING ASM. - R09RB50AF (49RGRSTEERING07500)
SUSPENSION, A-ARM and STRUT MOUNTING - R09RB50AF (49RGRAARM082X4)
SUSPENSION, FRONT STRUT - R09RB50AF (49RGRSTRUTFRT08500EFI)
SUSPENSION, REAR - R09RB50AF (49RGRSUSPRR097004X4)
SUSPENSION, REAR STABILIZER BAR - R09RB50AF (4999203249920324C10)
TOOLS, TOOL KIT - R09RB50AF (4999202119920211E06)
WHEELS, FRONT - R09RB50AF (49RGRWHEELFRT095002X4)
WHEELS, REAR - R09RB50AF (49RGRWHEELRR095004X4)
BODY, BOX ASM. - R09RB50AF (49RGRBOX097006X6)
BODY, BOX MOUNTING - R09RB50AF (49RGRBOXMOUNTING097006X6)
BODY, DECALS - R09RB50AF (49RGRDECAL082X4)
BODY, FLOOR and FENDERS - R09RB50AF (49RGRMOLDINGS095002X4)
BODY, FUEL SYSTEM - R09RB50AF (49RGRFUEL095002X4)
BODY, HOOD and DASHBOARD - R09RB50AF (49RGRHOOD097006X6)
BODY, SEAT and BASE - R09RB50AF (4999203249920324A04)
BODY, TAILGATE ASM. - R09RB50AF (4999203249920324A12)
BRAKES, FRONT CALIPER - R09RB50AF (49RGRCALIPER08500EFI)
BRAKES, LINES and MASTER CYLINDER - R09RB50AF (49RGRBRAKELINES08500EFI)
BRAKES, PARK BRAKE ASM. - R09RB50AF (49RGRBRAKEPARK095002X4)
BRAKES, PEDAL and MASTER CYLINDER MOUNTING - R09RB50AF (49RGRBRAKEFOOT08500EFI)
BRAKES, REAR CALIPER - R09RB50AF (4999203249920324C04)
CHASSIS, CAB FRAME - R09RB50AF (49RGRFRAME097006X6)
CHASSIS, FRAME and FRONT BUMPER - R09RB50AF (49RGRCHASSIS095002X4)
DRIVE TRAIN, CLUTCH COVER - R09RB50AF (4999202119920211D01)
DRIVE TRAIN, GEAR SELECTOR - R09RB50AF (4999202119920211D07)
DRIVE TRAIN, MAIN GEARCASE - R09RB50AF (49RGRGEARCASE097004X4)
DRIVE TRAIN, MAIN GEARCASE INTERNAL - R09RB50AF (49RGRTRANSINTL095002X4)
DRIVE TRAIN, MAIN GEARCASE MOUNTING - R09RB50AF (49RGRGEARCASEMTG082X4)
DRIVE TRAIN, MAIN GEARCASE OUTPUT SHAFT - R09RB50AF (49RGRTRANSOTPT082X4)
DRIVE TRAIN, PRIMARY CLUTCH - R09RB50AF (49RGRCLUTCHDRV08500EFI)
DRIVE TRAIN, REAR DRIVE SHAFT - R09RB50AF (49RGRSHAFTDRIVERR10CREW)
DRIVE TRAIN, REAR GEARCASE - R09RB50AF (49RGRGEARCASERR097004X4)
DRIVE TRAIN, REAR GEARCASE MOUNTING - R09RB50AF (49RGRGEARCASEMTGRR08500EFI)
DRIVE TRAIN, REAR PROP SHAFT - R09RB50AF (49RGRSHAFTPROPRR08500)
DRIVE TRAIN, SECONDARY CLUTCH - R09RB50AF (4999202119920211C12)
ELECTRICAL, BATTERY - R09RB50AF (49RGRBATTERY08500EFI)
ELECTRICAL, DASH INSTRUMENTS and CONTROLS - R09RB50AF (49RGRDASH082X4)
ELECTRICAL, HEADLIGHTS, TAILLIGHTS and BULBS - R09RB50AF (49RGRTAILLAMPS097006X6)
ELECTRICAL, IGNITION SYSTEM - R09RB50AF (49ATV\MAGNETO\SCRAM)
ELECTRICAL, SWITCHES and ECM - R09RB50AF (49RGRELECT082X4)
ELECTRICAL, WIRE HARNESSES - R09RB50AF (49RGRHARNESS082X4)
ENGINE, AIR INTAKE SYSTEM - R09RB50AF (49RGRAIRBOX07500)
ENGINE, CAMSHAFT and VALVES - R09RB50AF (4999202119920211D13)
ENGINE, CARBURETOR, LOWER - R09RB50AF (49RGRCARBLWR095002X4)
ENGINE, CARBURETOR, UPPER - R09RB50AF (49RGRCARBUPPER095002X4)
ENGINE, CLUTCH AIR INTAKE - R09RB50AF (49RGRAIRINTAKE08500)
ENGINE, COOLING SYSTEM - R09RB50AF (49RGRCOOL08500EFI)
ENGINE, CRANKCASE - R09RB50AF (49ATVCRANKCASE09SP500)
ENGINE, CRANKSHAFT and PISTON - R09RB50AF (4999202119920211D12)
ENGINE, CYLINDER - R09RB50AF (4999202119920211D10)
ENGINE, EXHAUST - R09RB50AF (49RGREXHAUST095002X4)
ENGINE, FLYWHEEL COVER - R09RB50AF (49RGRFLYWHEELCVR095002X4)
ENGINE, MOUNTING - R09RB50AF (49RGRENGINEMTG082X4)
ENGINE, OIL FILTER - R09RB50AF (4999202119920211E03)
ENGINE, OIL PUMP - R09RB50AF (4999202119920211E02)
ENGINE, OIL TANK - R09RB50AF (49RGROILTANK095004X4)
ENGINE, STARTING MOTOR - R09RB50AF (49RGRSTARTINGMTR095004X4)
ENGINE, THROTTLE - R09RB50AF (4999202119920211C01)
ENGINE, WATER PUMP - R09RB50AF (49RGRWATERPUMP07500)
STEERING, STEERING ASM. - R09RB50AF (49RGRSTEERING07500)
SUSPENSION, A-ARM and STRUT MOUNTING - R09RB50AF (49RGRAARM082X4)
SUSPENSION, FRONT STRUT - R09RB50AF (49RGRSTRUTFRT08500EFI)
SUSPENSION, REAR - R09RB50AF (49RGRSUSPRR097004X4)
SUSPENSION, REAR STABILIZER BAR - R09RB50AF (4999203249920324C10)
TOOLS, TOOL KIT - R09RB50AF (4999202119920211E06)
WHEELS, FRONT - R09RB50AF (49RGRWHEELFRT095002X4)
WHEELS, REAR - R09RB50AF (49RGRWHEELRR095004X4)
View Cart
VIEW WISH LIST