Polaris
Browse New Models
Shop In-Stock
Can-Am
Browse New Models
Shop In-Stock
Ski-Doo
Browse New Models
Shop In-Stock
Sea-Doo
Browse New Models
Shop In-Stock
Kayo
Browse New Models
Shop In-Stock
Manitou
Browse New Models
Shop In-Stock
Our
Location
Call
Us
Contact
Us
Toggle navigation
Home
Brands
Showroom
Manufacturer Models
OEM Promotions
Polaris Off-Road
Polaris Snowmobiles
Can-Am
Sea-Doo
Ski-Doo
Kayo
Yamaha Marine
Triton Trailers
Manitou
Nitro Trailers
CAM Superline
Durabull Trailers
Trifecta Pontoons
Inventory
All Inventory In Stock
New Inventory In Stock
Pre-Owned Inventory
Value Your Trade-In
Request a Model
Financing
Parts
Parts Department
OEM Parts Finder
Service
Service Department
Request Polaris Service
Warranty & Recall Look-Up
Financing
About
Our Dealership
Our Team
Reviews
Customer Survey
Newsletter Sign-Up
Employment
Events
Location & Hours
Contact
Call Us
Fort Kent, ME
Fiche | Parts Diagrams
2010 Polaris Utility Vehicles
Home
›
Parts
›
OEM Parts Finder
Search by :
Part / Desc
VIN
Please Select
Can-Am
LYNX
Polaris
Sea-Doo
Ski-Doo
Yamaha
*Please enter at least 3 characters
SEARCH
Manufacturer
Polaris
Utility Vehicles
2010
RANGER 4X4 800 EFI CREW (R10WH76AG/AH/AR/AV/WY76AW/AZ)
View Cart
VIEW WISH LIST
Select a Section
Show/Hide
BODY, BOX ASM. - R10WH76AG/AH/AR/AV/WY76AW/AZ (49RGRBOX10CREW)
BODY, BOX MOUNTING - R10WH76AG/AH/AR/AV/WY76AW/AZ (49RGRBOXMOUNTING10CREW)
BODY, DECALS - R10WH76AG/AH/AR/AV/WY76AW/AZ (49RGRDECAL10800CREW)
BODY, FLOOR and FENDERS - R10WH76AG/AH/AR/AV/WY76AW/AZ (49RGRMOLDINGS10800CREW)
BODY, FUEL TANK ASM. - R10WH76AG/AH/AR/AV/WY76AW/AZ (49RGRFUEL10800CREW)
BODY, GLOVE BOX STORAGE - R10WH76AG/AH/AR/AV/WY76AW/AZ (49RGRGLOVEBOX097004X4)
BODY, HOOD and FRONT FASCIA - R10WH76AG/AH/AR/AV/WY76AW/AZ (49RGRHOOD10CREW)
BODY, HOOD LATCH - R10WH76AG/AH/AR/AV/WY76AW/AZ (49RGRLATCH10CREW)
BODY, SEAT and BASE - R10WH76AG/AH/AR/AV/WY76AW/AZ (49RGRSEAT10800CREW)
BODY, TAILGATE ASM. - R10WH76AG/AH/AR/AV/WY76AW/AZ (49RGRTAILGATE10800CREW)
BRAKES, FRONT CALIPER - R10WH76AG/AH/AR/AV/WY76AW/AZ (49RGRCALIPER10800CREW)
BRAKES, LINES and MASTER CYLINDER - R10WH76AG/AH/AR/AV/WY76AW/AZ (49RGRBRAKELINES10800CREW)
BRAKES, PARK BRAKE ASM. - R10WH76AG/AH/AR/AV/WY76AW/AZ (49RGRBRAKEPARK10800CREW)
BRAKES, PEDAL and MASTER CYLINDER MOUNTING - R10WH76AG/AH/AR/AV/WY76AW/AZ (49RGRBRAKEFOOT097004X4)
BRAKES, REAR CALIPER - R10WH76AG/AH/AR/AV/WY76AW/AZ (49RGRCALIPERRR10800CREW)
CHASSIS, CAB FRAME - R10WH76AG/AH/AR/AV/WY76AW/AZ (49RGRFRAME10800CREW)
CHASSIS, FRAME and FRONT BUMPER - R10WH76AG/AH/AR/AV/WY76AW/AZ (49RGRCHASSIS10CREW)
DRIVE TRAIN, CLUTCH COVER - R10WH76AG/AH/AR/AV/WY76AW/AZ (49RGRCLUTCHCVR10800)
DRIVE TRAIN, FRONT DRIVE SHAFT - R10WH76AG/AH/AR/AV/WY76AW/AZ (49RGRSHAFTDRV097004X4)
DRIVE TRAIN, FRONT GEARCASE - R10WH76AG/AH/AR/AV/WY76AW/AZ (49RGRTRANS106X6)
DRIVE TRAIN, FRONT GEARCASE INTERNALS (Built 3/04/10 and Before) - R10WH76AG/AH/AR/AV/WY76AW/AZ (49RGRTRANSINTL108004X4)
DRIVE TRAIN, FRONT GEARCASE INTERNALS (Built 3/05/10 and After) - R10WH76AG/AH/AR/AV/WY76AW/AZ (49RGRTRANSINTL1332773)
DRIVE TRAIN, FRONT PROP SHAFT - R10WH76AG/AH/AR/AV/WY76AW/AZ (49RGRSHAFTPROP10)
DRIVE TRAIN, GEAR SELECTOR - R10WH76AG/AH/AR/AV/WY76AW/AZ (49RGRGEARSELECT10800CREW)
DRIVE TRAIN, MAIN GEARCASE - R10WH76AG/AH/AR/AV/WY76AW/AZ (49RGRGEARCASE108004X4)
DRIVE TRAIN, MAIN GEARCASE INTERNAL - R10WH76AG/AH/AR/AV/WY76AW/AZ (49RGRTRANS108004X4)
DRIVE TRAIN, MAIN GEARCASE MOUNTING - R10WH76AG/AH/AR/AV/WY76AW/AZ (49RGRGEARCASEMTG108004X4)
DRIVE TRAIN, PRIMARY CLUTCH - R10WH76AG/AH/AR/AV/WY76AW/AZ (49RGRCLUTCHDRV09CREW)
DRIVE TRAIN, REAR DRIVE SHAFT - R10WH76AG/AH/AR/AV/WY76AW/AZ (49RGRSHAFTDRIVERR10CREW)
DRIVE TRAIN, SECONDARY CLUTCH - R10WH76AG/AH/AR/AV/WY76AW/AZ (49RGRCLUTCHDVN086X6)
ELECTRICAL, BATTERY - R10WH76AG/AH/AR/AV/WY76AW/AZ (49RGRBATTERY108004X4)
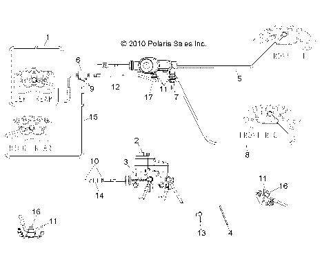
ELECTRICAL, DASH INSTRUMENTS and CONTROLS - R10WH76AG/AH/AR/AV/WY76AW/AZ (49RGRDASH106X6)
ELECTRICAL, HARNESSES - R10WH76AG/AH/AR/AV/WY76AW/AZ (49RGRHARNESS10800CREW)
ELECTRICAL, HEADLIGHTS, TAILLIGHTS and BULBS - R10WH76AG/AH/AR/AV/WY76AW/AZ (49RGRTAILLAMPS097004X4)
ELECTRICAL, IGNITION SYSTEM - R10WH76AG/AH/AR/AV/WY76AW/AZ (49RGRIGNITION108004X4)
ELECTRICAL, REGULATOR, RELAYS, SENSORS and ECU - R10WH76AG/AH/AR/AV/WY76AW/AZ (49RGRELECT10CREW)
ENGINE, AIR INTAKE SYSTEM - R10WH76AG/AH/AR/AV/WY76AW/AZ (49RGRAIRBOX09CREW)
ENGINE, CLUTCH AIR INTAKE - R10WH76AG/AH/AR/AV/WY76AW/AZ (49RGRAIRINTAKE10800CREW)
ENGINE, COOLING SYSTEM - R10WH76AG/AH/AR/AV/WY76AW/AZ (49RGRCOOL10CREW)
ENGINE, CRANKCASE - R10WH76AG/AH/AR/AV/WY76AW/AZ (49RGRCRANKCASE086X6)
ENGINE, CRANKSHAFT - R10WH76AG/AH/AR/AV/WY76AW/AZ (4999202259920225D11)
ENGINE, CYLINDER HEAD and VALVES - R10WH76AG/AH/AR/AV/WY76AW/AZ (4999202259920225D14)
ENGINE, EXHAUST - R10WH76AG/AH/AR/AV/WY76AW/AZ (49RGREXHAUST108004X4)
ENGINE, FUEL INJECTOR - R10WH76AG/AH/AR/AV/WY76AW/AZ (49RGRFUELINJECT097004X4)
ENGINE, MOUNTING - R10WH76AG/AH/AR/AV/WY76AW/AZ (49RGRENGINEMTG10800CREW)
ENGINE, OIL FILTER and DIPSTICK - R10WH76AG/AH/AR/AV/WY76AW/AZ (49RGROILFILTER10800CREW)
ENGINE, OIL PUMP and WATER PUMP - R10WH76AG/AH/AR/AV/WY76AW/AZ (49RGROILPUMP10800DREW)
ENGINE, PISTON and CYLINDER - R10WH76AG/AH/AR/AV/WY76AW/AZ (49RGRPISTON077006X6)
ENGINE, STARTING MOTOR - R10WH76AG/AH/AR/AV/WY76AW/AZ (49RGRSTARTINGMTR077006X6)
ENGINE, STATOR and FLYWHEEL - R10WH76AG/AH/AR/AV/WY76AW/AZ (4999202259920225E04)
ENGINE, THERMOSTAT - R10WH76AG/AH/AR/AV/WY76AW/AZ (4999202259920225D09)
ENGINE, THROTTLE BODY and VALVE COVER - R10WH76AG/AH/AR/AV/WY76AW/AZ (49RGRTHROTTLEBODY10800CREW)
ENGINE, THROTTLE PEDAL - R10WH76AG/AH/AR/AV/WY76AW/AZ (49RGRTHROTTLE097004X4)
REFERENCES, TOOL KIT and OWNERS MANUALS - R10WH76AG/AH/AR/AV/WY76AW/AZ (49RGRTOOL097004X4)
STEERING, STEERING ASM. - R10WH76AG/AH/AR/AV/WY76AW/AZ (49RGRSTEERING108004X4)
SUSPENSION, FRONT CONTROL ARMS - R10WH76AG/AH/AR/AV/WY76AW/AZ (49RGRSUSPFRT108004X4)
SUSPENSION, FRONT SHOCK - R10WH76AG/AH/AR/AV/WY76AW/AZ (49RGRSHOCKMTG097004X4)
SUSPENSION, REAR - R10WH76AG/AH/AR/AV/WY76AW/AZ (49RGRSUSPRR10800CREW)
SUSPENSION, REAR STABILIZER BAR - R10WH76AG/AH/AR/AV/WY76AW/AZ (49RGRSTABILIZERRR108004X4)
WHEELS, FRONT - R10WH76AG/AH/AR/AV/WY76AW/AZ (49RGRWHEELFRT10CREW)
WHEELS, REAR - R10WH76AG/AH/AR/AV/WY76AW/AZ (49RGRWHEELRR10CREW)
BODY, BOX ASM. - R10WH76AG/AH/AR/AV/WY76AW/AZ (49RGRBOX10CREW)
BODY, BOX MOUNTING - R10WH76AG/AH/AR/AV/WY76AW/AZ (49RGRBOXMOUNTING10CREW)
BODY, DECALS - R10WH76AG/AH/AR/AV/WY76AW/AZ (49RGRDECAL10800CREW)
BODY, FLOOR and FENDERS - R10WH76AG/AH/AR/AV/WY76AW/AZ (49RGRMOLDINGS10800CREW)
BODY, FUEL TANK ASM. - R10WH76AG/AH/AR/AV/WY76AW/AZ (49RGRFUEL10800CREW)
BODY, GLOVE BOX STORAGE - R10WH76AG/AH/AR/AV/WY76AW/AZ (49RGRGLOVEBOX097004X4)
BODY, HOOD and FRONT FASCIA - R10WH76AG/AH/AR/AV/WY76AW/AZ (49RGRHOOD10CREW)
BODY, HOOD LATCH - R10WH76AG/AH/AR/AV/WY76AW/AZ (49RGRLATCH10CREW)
BODY, SEAT and BASE - R10WH76AG/AH/AR/AV/WY76AW/AZ (49RGRSEAT10800CREW)
BODY, TAILGATE ASM. - R10WH76AG/AH/AR/AV/WY76AW/AZ (49RGRTAILGATE10800CREW)
BRAKES, FRONT CALIPER - R10WH76AG/AH/AR/AV/WY76AW/AZ (49RGRCALIPER10800CREW)
BRAKES, LINES and MASTER CYLINDER - R10WH76AG/AH/AR/AV/WY76AW/AZ (49RGRBRAKELINES10800CREW)
BRAKES, PARK BRAKE ASM. - R10WH76AG/AH/AR/AV/WY76AW/AZ (49RGRBRAKEPARK10800CREW)
BRAKES, PEDAL and MASTER CYLINDER MOUNTING - R10WH76AG/AH/AR/AV/WY76AW/AZ (49RGRBRAKEFOOT097004X4)
BRAKES, REAR CALIPER - R10WH76AG/AH/AR/AV/WY76AW/AZ (49RGRCALIPERRR10800CREW)
CHASSIS, CAB FRAME - R10WH76AG/AH/AR/AV/WY76AW/AZ (49RGRFRAME10800CREW)
CHASSIS, FRAME and FRONT BUMPER - R10WH76AG/AH/AR/AV/WY76AW/AZ (49RGRCHASSIS10CREW)
DRIVE TRAIN, CLUTCH COVER - R10WH76AG/AH/AR/AV/WY76AW/AZ (49RGRCLUTCHCVR10800)
DRIVE TRAIN, FRONT DRIVE SHAFT - R10WH76AG/AH/AR/AV/WY76AW/AZ (49RGRSHAFTDRV097004X4)
DRIVE TRAIN, FRONT GEARCASE - R10WH76AG/AH/AR/AV/WY76AW/AZ (49RGRTRANS106X6)
DRIVE TRAIN, FRONT GEARCASE INTERNALS (Built 3/04/10 and Before) - R10WH76AG/AH/AR/AV/WY76AW/AZ (49RGRTRANSINTL108004X4)
DRIVE TRAIN, FRONT GEARCASE INTERNALS (Built 3/05/10 and After) - R10WH76AG/AH/AR/AV/WY76AW/AZ (49RGRTRANSINTL1332773)
DRIVE TRAIN, FRONT PROP SHAFT - R10WH76AG/AH/AR/AV/WY76AW/AZ (49RGRSHAFTPROP10)
DRIVE TRAIN, GEAR SELECTOR - R10WH76AG/AH/AR/AV/WY76AW/AZ (49RGRGEARSELECT10800CREW)
DRIVE TRAIN, MAIN GEARCASE - R10WH76AG/AH/AR/AV/WY76AW/AZ (49RGRGEARCASE108004X4)
DRIVE TRAIN, MAIN GEARCASE INTERNAL - R10WH76AG/AH/AR/AV/WY76AW/AZ (49RGRTRANS108004X4)
DRIVE TRAIN, MAIN GEARCASE MOUNTING - R10WH76AG/AH/AR/AV/WY76AW/AZ (49RGRGEARCASEMTG108004X4)
DRIVE TRAIN, PRIMARY CLUTCH - R10WH76AG/AH/AR/AV/WY76AW/AZ (49RGRCLUTCHDRV09CREW)
DRIVE TRAIN, REAR DRIVE SHAFT - R10WH76AG/AH/AR/AV/WY76AW/AZ (49RGRSHAFTDRIVERR10CREW)
DRIVE TRAIN, SECONDARY CLUTCH - R10WH76AG/AH/AR/AV/WY76AW/AZ (49RGRCLUTCHDVN086X6)
ELECTRICAL, BATTERY - R10WH76AG/AH/AR/AV/WY76AW/AZ (49RGRBATTERY108004X4)
ELECTRICAL, DASH INSTRUMENTS and CONTROLS - R10WH76AG/AH/AR/AV/WY76AW/AZ (49RGRDASH106X6)
ELECTRICAL, HARNESSES - R10WH76AG/AH/AR/AV/WY76AW/AZ (49RGRHARNESS10800CREW)
ELECTRICAL, HEADLIGHTS, TAILLIGHTS and BULBS - R10WH76AG/AH/AR/AV/WY76AW/AZ (49RGRTAILLAMPS097004X4)
ELECTRICAL, IGNITION SYSTEM - R10WH76AG/AH/AR/AV/WY76AW/AZ (49RGRIGNITION108004X4)
ELECTRICAL, REGULATOR, RELAYS, SENSORS and ECU - R10WH76AG/AH/AR/AV/WY76AW/AZ (49RGRELECT10CREW)
ENGINE, AIR INTAKE SYSTEM - R10WH76AG/AH/AR/AV/WY76AW/AZ (49RGRAIRBOX09CREW)
ENGINE, CLUTCH AIR INTAKE - R10WH76AG/AH/AR/AV/WY76AW/AZ (49RGRAIRINTAKE10800CREW)
ENGINE, COOLING SYSTEM - R10WH76AG/AH/AR/AV/WY76AW/AZ (49RGRCOOL10CREW)
ENGINE, CRANKCASE - R10WH76AG/AH/AR/AV/WY76AW/AZ (49RGRCRANKCASE086X6)
ENGINE, CRANKSHAFT - R10WH76AG/AH/AR/AV/WY76AW/AZ (4999202259920225D11)
ENGINE, CYLINDER HEAD and VALVES - R10WH76AG/AH/AR/AV/WY76AW/AZ (4999202259920225D14)
ENGINE, EXHAUST - R10WH76AG/AH/AR/AV/WY76AW/AZ (49RGREXHAUST108004X4)
ENGINE, FUEL INJECTOR - R10WH76AG/AH/AR/AV/WY76AW/AZ (49RGRFUELINJECT097004X4)
ENGINE, MOUNTING - R10WH76AG/AH/AR/AV/WY76AW/AZ (49RGRENGINEMTG10800CREW)
ENGINE, OIL FILTER and DIPSTICK - R10WH76AG/AH/AR/AV/WY76AW/AZ (49RGROILFILTER10800CREW)
ENGINE, OIL PUMP and WATER PUMP - R10WH76AG/AH/AR/AV/WY76AW/AZ (49RGROILPUMP10800DREW)
ENGINE, PISTON and CYLINDER - R10WH76AG/AH/AR/AV/WY76AW/AZ (49RGRPISTON077006X6)
ENGINE, STARTING MOTOR - R10WH76AG/AH/AR/AV/WY76AW/AZ (49RGRSTARTINGMTR077006X6)
ENGINE, STATOR and FLYWHEEL - R10WH76AG/AH/AR/AV/WY76AW/AZ (4999202259920225E04)
ENGINE, THERMOSTAT - R10WH76AG/AH/AR/AV/WY76AW/AZ (4999202259920225D09)
ENGINE, THROTTLE BODY and VALVE COVER - R10WH76AG/AH/AR/AV/WY76AW/AZ (49RGRTHROTTLEBODY10800CREW)
ENGINE, THROTTLE PEDAL - R10WH76AG/AH/AR/AV/WY76AW/AZ (49RGRTHROTTLE097004X4)
REFERENCES, TOOL KIT and OWNERS MANUALS - R10WH76AG/AH/AR/AV/WY76AW/AZ (49RGRTOOL097004X4)
STEERING, STEERING ASM. - R10WH76AG/AH/AR/AV/WY76AW/AZ (49RGRSTEERING108004X4)
SUSPENSION, FRONT CONTROL ARMS - R10WH76AG/AH/AR/AV/WY76AW/AZ (49RGRSUSPFRT108004X4)
SUSPENSION, FRONT SHOCK - R10WH76AG/AH/AR/AV/WY76AW/AZ (49RGRSHOCKMTG097004X4)
SUSPENSION, REAR - R10WH76AG/AH/AR/AV/WY76AW/AZ (49RGRSUSPRR10800CREW)
SUSPENSION, REAR STABILIZER BAR - R10WH76AG/AH/AR/AV/WY76AW/AZ (49RGRSTABILIZERRR108004X4)
WHEELS, FRONT - R10WH76AG/AH/AR/AV/WY76AW/AZ (49RGRWHEELFRT10CREW)
WHEELS, REAR - R10WH76AG/AH/AR/AV/WY76AW/AZ (49RGRWHEELRR10CREW)
View Cart
VIEW WISH LIST