Polaris
Browse New Models
Shop In-Stock
Can-Am
Browse New Models
Shop In-Stock
Ski-Doo
Browse New Models
Shop In-Stock
Sea-Doo
Browse New Models
Shop In-Stock
Kayo
Browse New Models
Shop In-Stock
Manitou
Browse New Models
Shop In-Stock
Our
Location
Call
Us
Contact
Us
Toggle navigation
Home
Brands
Showroom
Manufacturer Models
OEM Promotions
Polaris Off-Road
Polaris Snowmobiles
Can-Am
Sea-Doo
Ski-Doo
Kayo
Yamaha Marine
Triton Trailers
Manitou
Nitro Trailers
CAM Superline
Durabull Trailers
Trifecta Pontoons
Inventory
All Inventory In Stock
New Inventory In Stock
Pre-Owned Inventory
Value Your Trade-In
Request a Model
Financing
Parts
Parts Department
OEM Parts Finder
Service
Service Department
Request Polaris Service
Warranty & Recall Look-Up
Financing
About
Our Dealership
Our Team
Reviews
Customer Survey
Newsletter Sign-Up
Employment
Events
Location & Hours
Contact
Call Us
Fort Kent, ME
Fiche | Parts Diagrams
2025 Polaris Utility Vehicles
Home
›
Parts
›
OEM Parts Finder
Search by :
Part / Desc
VIN
Please Select
Can-Am
LYNX
Polaris
Sea-Doo
Ski-Doo
Yamaha
*Please enter at least 3 characters
SEARCH
Manufacturer
Polaris
Utility Vehicles
2025
RANGER 1000 XP NSTR ULTIMATE TRAIL BOSS (R25RRV99AC)
View Cart
VIEW WISH LIST
Select a Section
Show/Hide
*SERVICE & MAINTENANCE PAGE RGR 1000 XP NSTR TRAIL BOSS
*SERVICE & MAINTENANE PAGE RGR 1000 XP NSTR TRAIL BOSS
BODY, BOX - R25RRV99AC (C730361)
BODY, BOX, MOUNTING - R25RRV99AC (C733225)
BODY, BOX, TAILGATE - R25RRV99AC (C731178)
BODY, CAB FOAM AND REAR PANEL - R25RRV99AC (C788401)
BODY, DASH - R25RRV99AC (C733427)
BODY, DECAL, GENERAL - R25RRV99AC (900941)
BODY, DECALS, GRAPHICS- R25RRV99AC (900942)
BODY, DOME LIGHT - R25RRV99AC (C788396)
BODY, DOOR, FULL, MOUNTING - R25RRV99AC (C0706139)
BODY, DOOR, FULL, POWER - R25RRV99AC (C730793)
BODY, ELECTRICAL COMPONENTS, DOOR/WINDOW - R25RRV99AC (C700774-1)
BODY, FLOOR - R25RRV99AC (C730195-1)
BODY, FOAM - (R25RRV99AC) (C788398)
BODY, FRONT BUMPER - R25RRV99AC (C733195)
BODY, HOOD AND FRONT FASCIA - R25RRV99AC (C730478)
BODY, HVAC ASSEMBLY - R25RRV99AC (2639607-1)
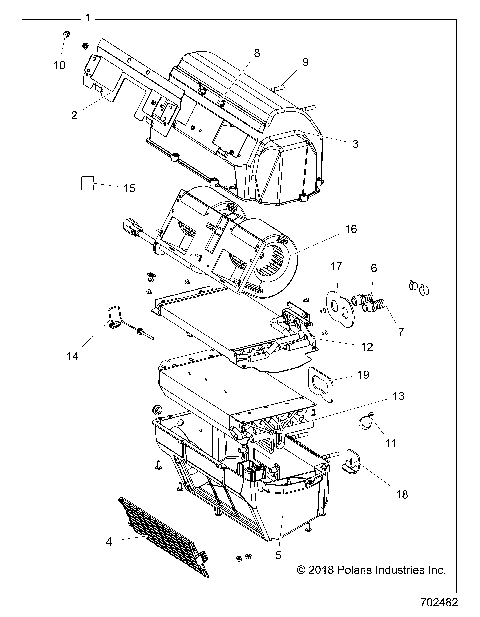
BODY, HVAC ASSEMBLY - R25RRV99AC (702482)
BODY, HVAC DUCTING - R25RRV99AC (C700125-2)
BODY, HVAC ROUTINGS - R25RRV99AC (C730786)
BODY, MIRROR - R25RRV99AC (C701197)
BODY, REAR CLOSEOFF - R25RRV99AC (C700556-01)
BODY, REAR FENDERS - R25RRV99AC (C700555)
BODY, REAR WINDOW - R25RRV99AC (C788400)
BODY, ROOF - R25RRV99AC (C788399)
BODY, SEAT ASM. AND SLIDER - R25RRV99AC (C700069-1)
BODY, SEAT BELT MOUNTING - R25RRV99AC (C700082-1)
BODY, WATER BOTTLE PUMP ASM AND WIPER KIT - R25RRV99AC (C788395)
BODY, WINCH - R25RRV99AC (C733432)
BODY, WINDSHIELD, TIP-OUT AND FOAM - R25RRV99AC (C788397)
BRAKES, BRAKE LINES AND MASTER CYLINDER - R25RRV99AC (C701377-1)
BRAKES, FRONT CALIPER - R25RRV99AC (C730831)
BRAKES, PEDAL - R25RRV99AC (C701139-1)
BRAKES, REAR CALIPER - R25RRV99AC (C730771)
CHASSIS, CAB FRAME - R25RRV99AC (C0705505-1)
CHASSIS, MAIN FRAME AND SKID PLATES - R25RRV99AC (C700018-1)
DRIVE TRAIN, CLUTCH COVER AND DUCTING - R25RRV99AC (C0705347)
DRIVE TRAIN, FRONT GEARCASE INTERNALS - R25RRV99AC (702797)
DRIVE TRAIN, FRONT GEARCASE MOUNTING - R25RRV99AC (C730196-1)
DRIVE TRAIN, FRONT HALF SHAFT - R25RRV99AC (C701201)
DRIVE TRAIN, FRONT PROP SHAFT - R25RRV99AC (C731221)
DRIVE TRAIN, GEAR SELECTOR - R25RRV99AC (C730861)
DRIVE TRAIN, MAIN GEARCASE INTERNALS - R25RRV99AC (1337232-2)
DRIVE TRAIN, MAIN GEARCASE MOUNTING - R25RRV99AC (C701280-1)
DRIVE TRAIN, PRIMARY CLUTCH - R25RRV99AC (C733425)
DRIVE TRAIN, REAR HALF SHAFT - R25RRV99AC (702405)
DRIVE TRAIN, REAR PROP SHAFT - R25RRV99AC (C700235-01)
DRIVE TRAIN, SECONDARY CLUTCH - R25RRV99AC (C788474)
ELECTRICAL, BATTERY - R25RRV99AC (C700968-1)
ELECTRICAL, DASH INSTRUMENTS - R25RRV99AC (C733428)
ELECTRICAL, HEADLIGHTS AND TAILLIGHTS - R25RRV99AC (C700074-1)
ELECTRICAL, RIDE COMMAND - R25RRV99AC (C733253)
ELECTRICAL, WIRE HARNESS - R25RRV99AC (C730792)
ELECTRICAL, WIRE HARNESS, COMPONANTS - R25RRV99AC (C730791)
ELECTRICAL, WIRE HARNESSES, BOX - R25RRV99AC (C730358)
ELECTRICAL, WORK LIGHT - R25RRV99AC (C730790)
ENGINE, AIR INTAKE MANIFOLD - R25RRV99AC (C750031)
ENGINE, AIR INTAKE SYSTEM - R25RRV99AC (C700055-1)
ENGINE, ALTERNATOR AND COMPRESSOR - R25RRV99AC (C731165)
ENGINE, ALTERNATOR COVER HVAC - R25RRV99AC (C731166)
ENGINE, CAM CHAIN AND TENSIONER - R25RRV99AC (C700048-1)
ENGINE, COOLING SYSTEM - R25RRV99AC (C700076-1)
ENGINE, CRANKCASE AND CRANKSHAFT - R25RRV99AC (C700342-1)
ENGINE, CYLINDER AND PISTON - R25RRV99AC (C700349-1)
ENGINE, CYLINDER HEAD AND VALVES - R25RRV99AC (C700049-1)
ENGINE, DIPSTICK AND OIL FILTER - R25RRV99AC (C733235)
ENGINE, EXHAUST SYSTEM - R25RRV99AC (C701193-1)
ENGINE, MAG COVER MOUNT - R25RRV99AC (C730780)
ENGINE, MOUNTING & LONG BLOCK - R25RRV99AC (C730882)
ENGINE, OIL PUMP - R25RRV99AC (C700046-1)
ENGINE, STARTER - R25RRV99AC (C700044-1)
ENGINE, THROTTLE BODY AND VALVE COVER - R25RRV99AC (C701254-1)
ENGINE, THROTTLE PEDAL - R25RRV99AC (C731079)
ENGINE, WATERPUMP AND BYPASS - R25RRV99AC (C700459-1)
ENGINE, WATERPUMP ASSEMBLY - R25RRV99AC (C730082)
ENGINE, WATERPUMP ASSEMBLY - R25RRV99AC (C788441)
FUEL SYSTEM, TANK - R25RRV99AC (C730146)
REFERENCE, OWNERS MANUAL AND TOOL KIT - R25RRV99AC (C733425)
STEERING, STEERING ASM. - R25RRV99AC (C733437)
STEERING, STEERING GEARBOX - R25RRV99AC (C733208)
SUSPENSION, FRONT CONTROL ARMS - R25RRV99AC (C700682)
SUSPENSION, FRONT HUB - R25RRV99AC (C730376)
SUSPENSION, FRONT SHOCK MOUNTING - R25RRV99AC (C701218-01)
SUSPENSION, FRONT STABILIZER BAR - R25RRV99AC (C700032-1)
SUSPENSION, REAR CARRIER - R25RV99AC (C731082)
SUSPENSION, REAR CONTROL ARMS - R25RRV99AC (C701219-01)
SUSPENSION, REAR SHOCK MOUNTING - R25RRV99AC (C733431)
SUSPENSION, REAR STABILIZER BAR - R25RRV99AC (C701194-1)
WHEELS, FRONT - R25RRV99AC (C730378)
WHEELS, REAR - R25RRV99AC (C730379)
*SERVICE & MAINTENANCE PAGE RGR 1000 XP NSTR TRAIL BOSS
*SERVICE & MAINTENANE PAGE RGR 1000 XP NSTR TRAIL BOSS
BODY, BOX - R25RRV99AC (C730361)
BODY, BOX, MOUNTING - R25RRV99AC (C733225)
BODY, BOX, TAILGATE - R25RRV99AC (C731178)
BODY, CAB FOAM AND REAR PANEL - R25RRV99AC (C788401)
BODY, DASH - R25RRV99AC (C733427)
BODY, DECAL, GENERAL - R25RRV99AC (900941)
BODY, DECALS, GRAPHICS- R25RRV99AC (900942)
BODY, DOME LIGHT - R25RRV99AC (C788396)
BODY, DOOR, FULL, MOUNTING - R25RRV99AC (C0706139)
BODY, DOOR, FULL, POWER - R25RRV99AC (C730793)
BODY, ELECTRICAL COMPONENTS, DOOR/WINDOW - R25RRV99AC (C700774-1)
BODY, FLOOR - R25RRV99AC (C730195-1)
BODY, FOAM - (R25RRV99AC) (C788398)
BODY, FRONT BUMPER - R25RRV99AC (C733195)
BODY, HOOD AND FRONT FASCIA - R25RRV99AC (C730478)
BODY, HVAC ASSEMBLY - R25RRV99AC (2639607-1)
BODY, HVAC ASSEMBLY - R25RRV99AC (702482)
BODY, HVAC DUCTING - R25RRV99AC (C700125-2)
BODY, HVAC ROUTINGS - R25RRV99AC (C730786)
BODY, MIRROR - R25RRV99AC (C701197)
BODY, REAR CLOSEOFF - R25RRV99AC (C700556-01)
BODY, REAR FENDERS - R25RRV99AC (C700555)
BODY, REAR WINDOW - R25RRV99AC (C788400)
BODY, ROOF - R25RRV99AC (C788399)
BODY, SEAT ASM. AND SLIDER - R25RRV99AC (C700069-1)
BODY, SEAT BELT MOUNTING - R25RRV99AC (C700082-1)
BODY, WATER BOTTLE PUMP ASM AND WIPER KIT - R25RRV99AC (C788395)
BODY, WINCH - R25RRV99AC (C733432)
BODY, WINDSHIELD, TIP-OUT AND FOAM - R25RRV99AC (C788397)
BRAKES, BRAKE LINES AND MASTER CYLINDER - R25RRV99AC (C701377-1)
BRAKES, FRONT CALIPER - R25RRV99AC (C730831)
BRAKES, PEDAL - R25RRV99AC (C701139-1)
BRAKES, REAR CALIPER - R25RRV99AC (C730771)
CHASSIS, CAB FRAME - R25RRV99AC (C0705505-1)
CHASSIS, MAIN FRAME AND SKID PLATES - R25RRV99AC (C700018-1)
DRIVE TRAIN, CLUTCH COVER AND DUCTING - R25RRV99AC (C0705347)
DRIVE TRAIN, FRONT GEARCASE INTERNALS - R25RRV99AC (702797)
DRIVE TRAIN, FRONT GEARCASE MOUNTING - R25RRV99AC (C730196-1)
DRIVE TRAIN, FRONT HALF SHAFT - R25RRV99AC (C701201)
DRIVE TRAIN, FRONT PROP SHAFT - R25RRV99AC (C731221)
DRIVE TRAIN, GEAR SELECTOR - R25RRV99AC (C730861)
DRIVE TRAIN, MAIN GEARCASE INTERNALS - R25RRV99AC (1337232-2)
DRIVE TRAIN, MAIN GEARCASE MOUNTING - R25RRV99AC (C701280-1)
DRIVE TRAIN, PRIMARY CLUTCH - R25RRV99AC (C733425)
DRIVE TRAIN, REAR HALF SHAFT - R25RRV99AC (702405)
DRIVE TRAIN, REAR PROP SHAFT - R25RRV99AC (C700235-01)
DRIVE TRAIN, SECONDARY CLUTCH - R25RRV99AC (C788474)
ELECTRICAL, BATTERY - R25RRV99AC (C700968-1)
ELECTRICAL, DASH INSTRUMENTS - R25RRV99AC (C733428)
ELECTRICAL, HEADLIGHTS AND TAILLIGHTS - R25RRV99AC (C700074-1)
ELECTRICAL, RIDE COMMAND - R25RRV99AC (C733253)
ELECTRICAL, WIRE HARNESS - R25RRV99AC (C730792)
ELECTRICAL, WIRE HARNESS, COMPONANTS - R25RRV99AC (C730791)
ELECTRICAL, WIRE HARNESSES, BOX - R25RRV99AC (C730358)
ELECTRICAL, WORK LIGHT - R25RRV99AC (C730790)
ENGINE, AIR INTAKE MANIFOLD - R25RRV99AC (C750031)
ENGINE, AIR INTAKE SYSTEM - R25RRV99AC (C700055-1)
ENGINE, ALTERNATOR AND COMPRESSOR - R25RRV99AC (C731165)
ENGINE, ALTERNATOR COVER HVAC - R25RRV99AC (C731166)
ENGINE, CAM CHAIN AND TENSIONER - R25RRV99AC (C700048-1)
ENGINE, COOLING SYSTEM - R25RRV99AC (C700076-1)
ENGINE, CRANKCASE AND CRANKSHAFT - R25RRV99AC (C700342-1)
ENGINE, CYLINDER AND PISTON - R25RRV99AC (C700349-1)
ENGINE, CYLINDER HEAD AND VALVES - R25RRV99AC (C700049-1)
ENGINE, DIPSTICK AND OIL FILTER - R25RRV99AC (C733235)
ENGINE, EXHAUST SYSTEM - R25RRV99AC (C701193-1)
ENGINE, MAG COVER MOUNT - R25RRV99AC (C730780)
ENGINE, MOUNTING & LONG BLOCK - R25RRV99AC (C730882)
ENGINE, OIL PUMP - R25RRV99AC (C700046-1)
ENGINE, STARTER - R25RRV99AC (C700044-1)
ENGINE, THROTTLE BODY AND VALVE COVER - R25RRV99AC (C701254-1)
ENGINE, THROTTLE PEDAL - R25RRV99AC (C731079)
ENGINE, WATERPUMP AND BYPASS - R25RRV99AC (C700459-1)
ENGINE, WATERPUMP ASSEMBLY - R25RRV99AC (C730082)
ENGINE, WATERPUMP ASSEMBLY - R25RRV99AC (C788441)
FUEL SYSTEM, TANK - R25RRV99AC (C730146)
REFERENCE, OWNERS MANUAL AND TOOL KIT - R25RRV99AC (C733425)
STEERING, STEERING ASM. - R25RRV99AC (C733437)
STEERING, STEERING GEARBOX - R25RRV99AC (C733208)
SUSPENSION, FRONT CONTROL ARMS - R25RRV99AC (C700682)
SUSPENSION, FRONT HUB - R25RRV99AC (C730376)
SUSPENSION, FRONT SHOCK MOUNTING - R25RRV99AC (C701218-01)
SUSPENSION, FRONT STABILIZER BAR - R25RRV99AC (C700032-1)
SUSPENSION, REAR CARRIER - R25RV99AC (C731082)
SUSPENSION, REAR CONTROL ARMS - R25RRV99AC (C701219-01)
SUSPENSION, REAR SHOCK MOUNTING - R25RRV99AC (C733431)
SUSPENSION, REAR STABILIZER BAR - R25RRV99AC (C701194-1)
WHEELS, FRONT - R25RRV99AC (C730378)
WHEELS, REAR - R25RRV99AC (C730379)
View Cart
VIEW WISH LIST